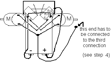
Paso 5: Hacer los calibradores de espesor y cableado









El cableado es muy simple y he añadido un esquema para que ayudarle si usted necesita más información sobre cómo conectar los calibradores de espesor, a continuación, consulta este enlace.
Pasos:
1. unir los 2 interruptores momentáneos. Se puede ver en las imágenes he utilizado unos micro. Sugeriría que usted encuentra algo un poco más resistentes que estos finalmente se rompieron en la palanca.
2. luego formar a los fellers de algunos grandes clips. Sólo tienes que Naciones Unidas-se dobla cada esquina para formar la forma a continuación. La soldadura en las palancas de interruptor.
3. Agregue algunas de la soldadura a los puntos de soldadura y conectan los 2 pernos de mediados. Usted también necesitará unir un cable a una de las patas.
4. a continuación, las clavijas 2 lateral de alambre juntos y conecte otro cable a uno de los pernos como se muestra a continuación.
5. por último, añadir algunos superglue al lado del interruptor y pegamento a la parte superior del soporte de la batería.













