Paso 1: Crear una idea, boceto, planificación y límites

Como primer paso tienes que piensen acerca de qué hacer. Al principio estaba pensando en hacer un balancín sin cepillo para mi GoPro. Como un snowboarder me gusta filmar mis amigos pero no soy capaz de hacer imágenes estables como nieve no siempre es suave (y no tan buena en snowboard mantener el GoPro completamente inmóvil).
Uno de los criterios para esta materia optativa es originalidad que un cardán sin escobillas no es en absoluto. Ya existe un gran número de cardanes (impresión 3D). Así que decidí hacer un corte de motor simplificado que muestra cómo funciona el motor de combustión (a.k.a. Otto-).
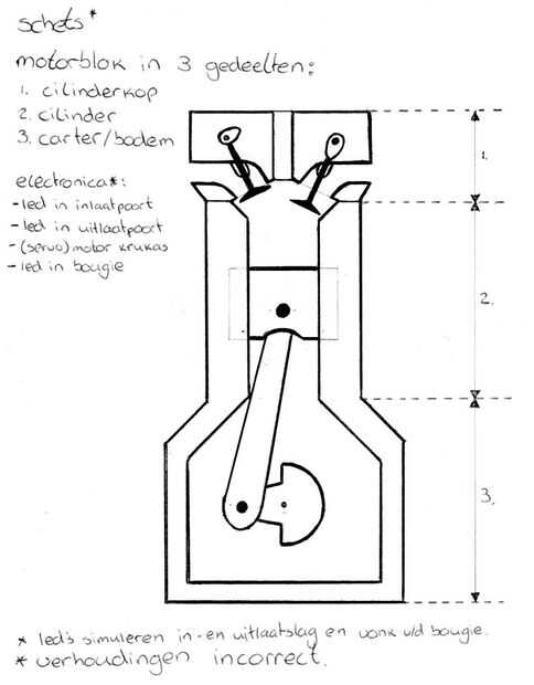
Si usted toma una mirada a la imagen de arriba, hice un boceto. Por favor mantener en mente es sólo un primer bosquejo para las dimensiones y proporciones no son correctas.
La mayoría de las piezas será del corte del laser y 3D impreso porque estas piezas son muy dificil de hacer lo contrario en el CityLab R'dam.
- En el cilindro tiene el pistón redondo y por supuesto el cilindro sí mismo. Estos se harán con la impresora 3D.
- La parte del carter inferior tiene el carter sí mismo, el cigüeñal y el pistón brazo que conecta el cigüeñal con el pistón. Estoy planeando hacer estas piezas con el cortador del laser.
Uno de los criterios para el curso es utilizar una tercera máquina eléctrica de la opción. Así que usando un taladro para perforar a agujeros de las piezas móviles. La impresora 3D puede hacer agujeros pero no se que exactamente que son necesarios para que sea todo movimiento suave. Y probablemente una pistola de pegamento caliente se utilizará también para pegar en lugar de LED.
En el bosquejo el LED no estén todavía pero será lugar de puerto de entrada y tubo de escape y la bujía. Se encenderá en el orden de la carrera de admisión, escape de golpe y chispa. Esto le ayudará a mostrar el funcionamiento del motor.
Algunas observaciones se ponen en el dibujo en holandés por lo que les traduzco para ti:
"Bosquejo *
Bloque del motor en tres partes:
- CYLINDERHEAD
- Cilindro
- Carter inferior parte
Electrónica:
- LED en el puerto de entrada
- LED en el puerto de escape
- motor en el cigüeñal (servo)
* De LED simula la entrada - y escape stroke y la chispa de la bujía
* Proporciones son incorrectas "
Con este concepto también es importante saber qué hacer y lo que definitivamente no es posible dentro de la duración de este curso. Para establecer los límites de una lista de Moscú se hace:
- Debe haber pistón movimiento en un grupo, el movimiento del cigüeñal accionado por un servo o un motor
- Debe tener LED para la iluminación decorativa
- Podría tener para la simulación de encendido de LED
- No habrá detallado partes como empujadores de válvula y - guías
Lista y métodos de producción de piezas:
- Bloque del motor (impresora 3D, taladro)
- Cigüeñal (lasercutter)
- Pistonarm (lasercutter)
- Pistón (impresora 3D, taladro)
Una planificación global se hace para asegurarse de que todo se hace dentro de la duración del curso. Porque es mi primera vez que estoy trabajando con la impresora 3D y lasercutter, la planificación es una estimación cruda.
- Semana 1
- Primer intento en la impresora 3D. Se hace un simple dado
- Dibujo del producto completo en 2D y 3D
- Acostumbrarse a dibujar 2D con Inkscape
- Fabricación de las piezas de bloque de motor con cilindro pero sin culata. Hecho con la impresora 3D y perforación
- Fabricación del pistón con la impresora 3D y perforación
- Lo del brazo del pistón con el lasercutter y el taladro
- Fabricación del cigüeñal con la impresora 3D para el árbol y el lasercutter para la parte asimétrica
- Montaje de las piezas existentes, modificar para caber para un buen funcionamiento
- Confección de las piezas para acoplar el motor a la Asamblea. Seguramente con la impresora 3D
- Perforación de agujeros para los LEDs y poner los LEDs
- Montaje del motor al resto
- Fabricación de la culata con la impresora 3D y perforación
- Si hay tiempo: de los árboles de levas con la impresora 3D
- Fabricación de las válvulas
- Perforación de agujeros para los LEDs y poner los LEDs
- Conjunto de producto completo
- Evaluación del producto
- Si es necesario: hacer de pequeñas adaptaciones