Paso 11: bielas y espaciadores






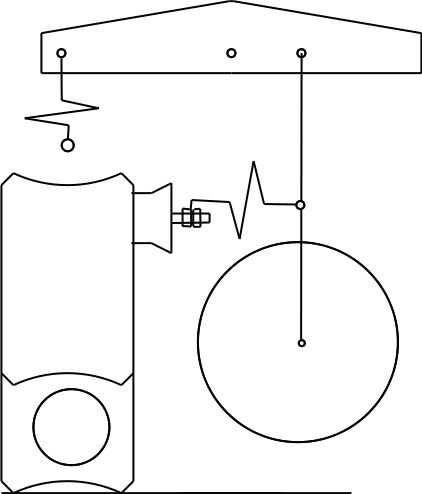
Pero antes de conectarlo a las bielas debe hacer la biela del diafragma. El conector del diafragma se realiza en la misma forma que el conector del desplazador, un zig zag con un gancho en un extremo para el tornillo de M4 y el aro en el otro extremo para conectarlo a la barra larga que conecta a la viga con las manivelas.
He hecho pequeñas paradas de una pajita para evitar que la biela del diafragma hacia abajo la varilla de conexión de viga.
Las manivelas del hilo de rosca en los agujeros del cojinete.
Con el diafragma biela unida a la biela de la viga, puede formar el otro aro para conectar la barra de la viga a las manivelas.
Se debe acabar ahora!