Paso 3: teoría

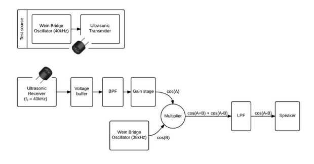
El diagrama arriba muestra la vista de alto nivel de nuestro circuito. Una introducción a la teoría se da aquí, y más detalles para cada parte del circuito en pasos posteriores.
Multiplicación de dos ondas sinusoidales
Para lograr un cambio de frecuencia de la señal ultrasónica aprovechó de la siguiente identidad trig:
cos(A)*cos(B) = ½[cos(A-B)+cos(A+B)], es decir, el producto de dos señales en frecuencias diferentes genera la suma de dos señales: uno en la suma de las frecuencias de entrada y otro en la diferencia de las frecuencias entrantes. No te preocupes que ahora estamos usando coseno en vez de seno, coseno es simplemente una onda de seno desplazada 90 grados, sin(wt) = cos (wt + 90). Nuestros oídos no pueden distinguir un cambio de fase de 90 grados de onda sonora.
Creo que de cos(A) ser nuestra señal desde el receptor de ultrasonidos, y creo que de cos(B) ser una oscilación local que creamos. Podemos medir A y B podemos elegir para colocar cos(A-B) en la gama de audio.
En realidad, nuestra señal ultrasónica será la composición de varias frecuencias, pero conserva el principio descrito anteriormente. La única diferencia es que vamos también a ver los armónicos A y B en nuestra salida así. Para más información, consulte la técnica de Heterodinaje.
Elegir la cantidad de desplazamiento
Se planificó para una señal ultrasónica había centrado alrededor de 40kHz, desde que es la frecuencia más común de la central de receptores ultrasónicos comprables. Asume un ancho de banda del receptor de 10kHz máximo, que significa que nuestras frecuencias entrantes sería entre 35 y 45kHz. En consecuencia, nuestra cambiante señal debían ser 35kHz para cambiar el límite inferior de la señal a 0Hz y el límite superior a 10 kilociclos (aún dentro de la gama audible). La frecuencia central aterrizaría en 5kHz, que era un sonido agradable bastante audible. Construcción de todo el circuito y al darse cuenta que el ancho de banda del receptor era mucho más estrecho de lo esperado, hemos hecho la frecuencia de desplazamiento más alta para producir una frecuencia más baja, más agradable centro de la salida de audio.