Paso 2: Alambre de todo


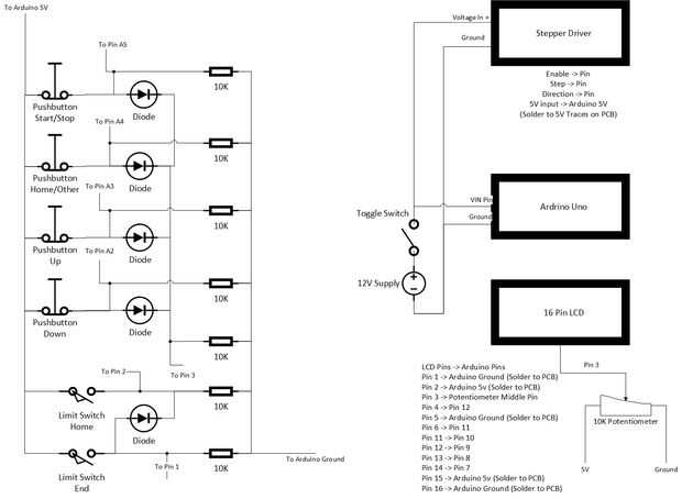
Una vez que todo está comprado y disponible puede empezar a soldar todo. Me inicie con los botones, soldar los cables a los botones pero esperar para soldarlos a la placa hasta que se haya pulsado en su lugar en el recinto. Luego soldar todas las resistencias y diodos para el PCB y conectar con los cables según el diagrama. Luego puede soldar los cables a la placa en los puntos de conexión especificados en el circuito y conéctelos a los pines de Arduino adecuados.
Conecte el controlador paso a paso, Arduino y el PWB juntos según el diagrama de pines. El controlador paso a paso y Arduino son particularmente fáciles de conectar porque en vez de soldadura tienen una mezcla de tornillo y conexiones tipo de protoboard.
Soldar los cables a los pines 1-6 y 11-16 del módulo LCD junto con el potenciómetro, ver el diagrama del circuito para que los cables van donde.
Soldar los cables al conector hembra de alimentación 12V alimentación y conectar el controlador de motor paso a paso y las clavijas de VIN y de la tierra en el Arduino Uno (esta entrada de energía se regula, por lo que no duele el Uno)