SquawkBox - una caja beat algorítmica utilizando una grabadora de voz de juguete (7 / 12 paso)

Paso 7: Implementar el registro cambia

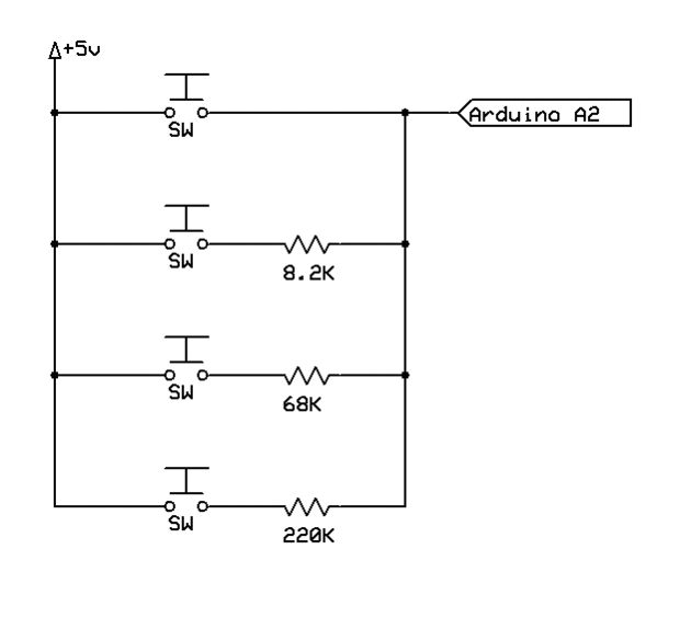
Ya que estaba acabando alfileres en el Arduino, y puesto que solo Yada grabar en un momento, decidí crear una matriz de conmutación agrupada mediante una sola entrada analógica Arduino. He utilizado cuatro interruptores, con el aumento de los valores de los resistores conectados. El resultado fue que mi bosquejo vio cada interruptor como sigue:

No encender: valor = 0-100
Interruptor 4: valor = 250-400
Interruptor 3: valor = 500-650
Interruptor 2: valor = 750-900
Interruptor 1: valor = 1023

Esto era fácil de decodificar, y pude implementar canal de conmutación sin tener que utilizar el resto de los pines.

Artículos Relacionados

LinkIt una grabadora de voz

LinkIt una grabadora de voz

Créalo o no, la Junta MediaTek LinkIt uno apoya la grabación a través del conector de 3,5 mm a bordo!Estaba navegando a través de los foros para este foro y he encontrado algo de código que llama a la API de grabación de voz. Hay no hay bocetos de ej
Cómo limpiar una grabadora

Cómo limpiar una grabadora

En este instructable, usted aprenderá cómo limpiar correctamente la ruta de la cinta (cabezas, rodillo de presión y cabrestante) en una grabadora. ¿Por qué limpiar una grabadora? Cinta requiere contacto físico entre los medios de comunicación y lo qu
Revivir una grabadora de philips norelco de 1960

Revivir una grabadora de philips norelco de 1960

este instructable se supone que tiene conocimientos de electrónica básica y media aptitud mecánica. Desmontaje y montaje de un mecanismo será necesarios y tal vez simple de soldadura. instrucciones dadas aquí son a la medida de philips temprano / sól
Cómo revivir una grabadora de cassette de craig 2603

Cómo revivir una grabadora de cassette de craig 2603

** este instructable da por sentado que tienes conocimientos de electrónica básica y se sienten cómodos usando herramientas de mano pequeña **en este instructable nos va a hacer un mantenimiento básico a un grabador de casetes portátil craig 2603 "sh
Máquina algorítmica ruido

Máquina algorítmica ruido

este proyecto es parte de experimentos realizado mientras se hace un artista en residencia en Instructables. Puedes ver los proyectos aquí.Puede utilizar desplazamiento de bits como una manera alternativa de crear "música". Este principio le per
Una grabadora casera DIY del gran bajo (es decir Viola-gama) para $30-40

Una grabadora casera DIY del gran bajo (es decir Viola-gama) para $30-40

en la familia de la grabadora, la grabadora bajo gran tiene una gama a partir de la C debajo de C media (es decir, la gama de la viola). Instrumentos en esta gama ofrecen bajo necesitaba soporte para conjuntos de viento.Porque el tamaño del registro
Caja para Impresora 3d utilizando cuadro de Ikea

Caja para Impresora 3d utilizando cuadro de Ikea

este recinto muy simple fue hecha usando dos cajas de Ikea transparentes.Paso 1: Conseguir una impresora 3d Primero apagado, usted necesitará una impresora 3d.El mío es un 90 de Mendel de Nophead pero muchos RepRap tiene aproximadamente las mismas di
Tony: una conectada, con voz bombilla

Tony: una conectada, con voz bombilla

Tony es un foco de luz conectado, con voz del futuro. Los dispositivos actuales, accesorios personales y aparatos que se conectan via BLE deben controlarse a través de una aplicación de smartphone y no son "inteligentes" o "conectado"
Desmontar o reparar una grabadora digital Olympus WS - 300M

Desmontar o reparar una grabadora digital Olympus WS - 300M

estos son relativamente robustas, fiables y grabadoras digitales, pero eso no significa que no se rompen y necesitan reparaciones. El botón "OK" en la mía dejó de funcionar, así que decidí desmontar todo para ver si podía arreglarlo y pensé que
Hacer un peluche de Mrrgglton Sir Finley de Hearthstone

Hacer un peluche de Mrrgglton Sir Finley de Hearthstone

Mi esposo es sumamente difícil de comprar, como nunca desee nada. Es nuestra pequeña broma familiar. Pero esta Navidad, hizo una sugerencia bromeando mientras jugaba Hearthstone y era amoroso la nueva expansión de la Liga de exploradores. Cuando tarj
Registrar la Historia Oral de - su familia antes de muera hacia fuera.

Registrar la Historia Oral de - su familia antes de muera hacia fuera.

Si tienes un abuelo o un bisabuelo que le encanta recordar "viejos tiempos", la mayor parte de sus recuerdos y grabarlas para futuro generaciones antes de que sea demasiado tarde. A menos que tenga memoria perfecta, sus preciosos recuerdos de su
Desarme de juego

Desarme de juego

este juego desarme fue hecho para tema tradicional día de mi hija Tika TTT-. El tema de este año fue "James Bond cumple con Austin Powers conoce a Chuck" (dos hombre Internacional del misterio y un Nerd americano todos). Una actividad alrededor
Voltímetro digital

Voltímetro digital

este es un instructivo para los principiantes para enseñarle a utilizar un convertidor analógico a digitalEsto le permitirá medir una relación entre una tensión de referencia más alta y un voltaje de entrada. Necesita calcular la tensión real a sí mi
Reproductor MP3 cassette

Reproductor MP3 cassette

he estado tratando durante algún tiempo llegar a un mod para la cinta.  Al principio pensé que sería cool si pude meter una grabadora de voz en una de esas cintas de cassette pequeño que solía ser utilizado en máquinas de mensaje (intentando irónico!