Paso 10: Crear una salida mixta


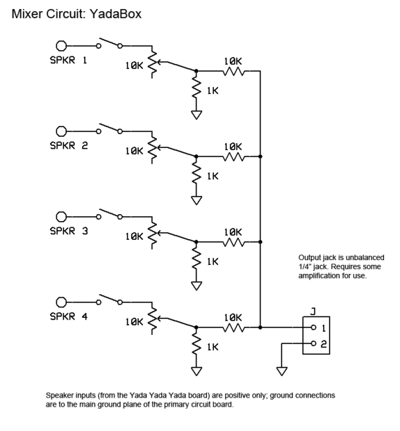
Comencé con los potes de 100K, 10K resistencias y tengo sobre todo era un montón de ruido - zumbido y zumbido. Después de probar cualquier número de opciones (sin ir a un búfer op-amp), encontré que caer una 1K resistencia entre la salida del potenciómetro y el suelo limpia todo. El resultado es el circuito que se muestra en el esquema adjunto.
Pongo el mezclador en un circuito separado - un protoboard bastante larga tengo en Radio Shack. Hay un montón de espacio libre en caso de que más tarde decido agregar cualquier otros circuitos (como, quizás, un amplificador de búfer o algunos efectos simples).
Se dará cuenta de que ahora estoy usando ollas de 10K en lugar de la K 100 original. El pote de 100K dio cerca de 10% gama útil - todo lo demás era silencio. A 10K significa que tengo cerca de 40% útil viaja, pero no bajar al silencio. Desde que existen conmutadores MUTE en su lugar, sentí OK sobre él. Además, teniendo en cuenta mi uso esperado, no necesito un mezclador perfecto.
La salida es un jack estándar de 1/4 no balanceado ". Necesita para ser amplificados, pero que es bastante limpia (dado la fuente...) y se integra bien con el resto de mi estudio en casa.