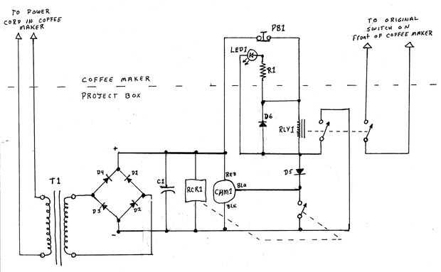
"Sentirse como una máquina de café de la Reina" (10 / 13 paso)

Paso 10: Comenzar a conectar los cables.

Empezar a conectar los cables según el esquema.

Artículos Relacionados

¿Cómo elegir una máquina de café completamente automática

¿Cómo elegir una máquina de café completamente automática

compra de una máquina de café espresso? Inicia aquí, con nuestra compare y contraste video. Conocer los sistemas y características de máquinas de café Express completamente automática. Morgan y marca de amor entero de leche toman una mirada en profun
Cómo utilizar una máquina de café espresso ~ tirando tiros, cociendo la leche y más!

Cómo utilizar una máquina de café espresso ~ tirando tiros, cociendo la leche y más!

Soy un estudiante de arte tradicional-es decir, trabajé como un barista en la Universidad. Pero no fue sólo porque es lo correcto-también fue porque me encanta el café.En este Instructable te enfoco en operación básica. Vamos a ir en teoría más profu
Arduino Sensor ultrasónico de nivel de agua para máquinas de café Espresso

Arduino Sensor ultrasónico de nivel de agua para máquinas de café Espresso

Tengo una máquina de café espresso muy bueno pero bastante viejo con un depósito de agua extraíble, el problema es que no proporciona una advertencia de nivel bajo de agua, así que no sé tal nivel de antes de quedarse sin agua! O al menos sin abrir l
¿3 máquina de café de la parte

¿3 máquina de café de la parte

eres enfermo de café instantáneo suave?¿Echas de menos el café de filtro sabor rico cuerpo completo cuando estás lejos de tu cocina?Aquí es cómo hacer una máquina de café del filtro de las probabilidades y termina. Es super fácil y rápida hacer en cu
Plataforma de máquina de café

Plataforma de máquina de café

Este es un proyecto de reutilización creativa, upcycling o reasignación. Rompiendo mi cafetera de pad y separado el alojamiento de sus partes esenciales, es una revelación. Mi primera impresión; tanta la cubierta plástica y unos pocos de los componen
Control de dispositivos externos (es decir, máquina de café).

Control de dispositivos externos (es decir, máquina de café).

Nota: probar cualquiera o todos de estos bajo su propio riesgo. No seré responsable de cualquier problema. Obtener un profesional de ayuda si no está seguro.El concepto es que tenemos una tensión de control de la computadora o un microcontrolador, qu
7 usos para una máquina + cómo hacer uno de calentamiento por inducción

7 usos para una máquina + cómo hacer uno de calentamiento por inducción

En este instructable, les mostraré cómo hacer una máquina y 7 diferentes usos para él de calentamiento por inducción. Calentamiento por inducción tiene muchas aplicaciones prácticas y lo que uno es increíblemente simple. En primer lugar, voy a entrar
Cómo construir una máquina de Arcade!

Cómo construir una máquina de Arcade!

Por fin he vuelto, y estoy aquí para mostrarle cómo hacer una máquina de Arcade para su propio disfrute personal. Realmente no es demasiado difícil ni demasiado caro (en comparación con la cantidad real arcade máquinas costo), por lo que este hace pa
Máquina de café moderna LEGO

Máquina de café moderna LEGO

Hola chicos! Hoy mostrará usted un tutorial sobre cómo hacer una máquina de café de aspecto moderno. Pero, ahora me siento extremadamente perezoso por lo que no se lista las piezas para esta versión o las instrucciones paso a paso. Pero creo que está
Cómo hacer una máquina de carne de Minecraft!

Cómo hacer una máquina de carne de Minecraft!

¿Cansado de usar la antigua espada para matar a animales? Usar a esta guía y del neumático no más!Paso 1: Para qué utilizar NecesitaArenaSpawn de polloTablones de roblePaso 2: Permite iniciar! Primero hacen un cuatro por cuatro casa hacia fuera si lo
Convertir una máquina de pinball de la década de 1970 en un despertador atómico sincronizado usando un gps y un arduino

Convertir una máquina de pinball de la década de 1970 en un despertador atómico sincronizado usando un gps y un arduino

Uno de los problemas más comunes enfrentados por coleccionistas de pinball es poner otro. El pensamiento vino a mí un día - ¿qué pasa si yo podría volver a propósito la máquina de pinball? Entonces podría reemplazar un dispositivo existente con el pe
Cómo hacer coffie sin una máquina de coffie

Cómo hacer coffie sin una máquina de coffie

bueno para ir de camping o simplemente no tiene una máquina de caféPaso 1: fuentes de Todo lo que necesitas esun filtro o colador de coffie viejoagua calientetazay moliendasPaso 2: paso 1 primero tienes que hervir el aguaPaso 3: paso 2 poner molido e
Convertir cualquier máquina de café en una cafetera automática

Convertir cualquier máquina de café en una cafetera automática

con una parte simple que usted puede poseer ya, puede convertir fácilmente cualquier vieja cafetera (eléctrica) en una cafetera automática.Materiales necesarios:-Una cafetera eléctrica-Un temporizador enchufable (por ejemplo: http://www.homedepot.com
Máquina de café de 18xx conocido como sifón o Gabeth

Máquina de café de 18xx conocido como sifón o Gabeth

Cafetera de vacío de wikiHola.En este instructable te voy a mostrar cómo construir tu propia máquina de café de sifón.Soy como el café y hacen de diferentes maneras... Y es real Steampunk. Con esta máquina me gustaría visitar conventos y diferentes f