Paso 4: Conmutadores analógicos encantador



.
Sé que esto no será de todos... la situación debe ser capaz de usar un controlador estándar tristate (como 74HC244 o 74HC245) en un paquete de la inmersión para hacer lo mismo. Voy a publicar una actualización cuando he tenido oportunidad de comprobarlo.
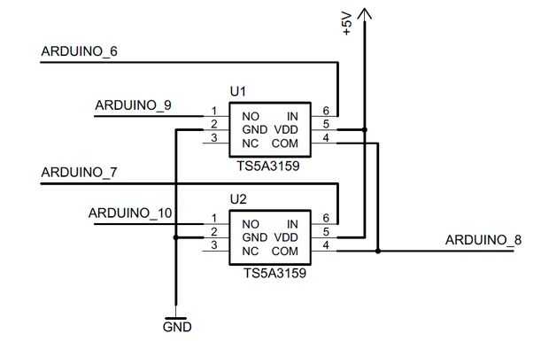
Estoy incluyendo un esquema de cómo se conectan los interruptores a la Arduino shield (7 puntos de conexión). Cuando cualquiera de estos interruptores se encienden, corta al lado de PREV para VOL + o VOL. El jugador entonces pasos hacia adelante o hacia atrás a través de la lista de MP3 en la tarjeta MicroSD.
El proceso paso a paso es no a velocidades de microprocesadores, pero a velocidades de humanos-dedo-presione, como décimas de segundos.
Si usted el nombre tus archivos MP3: 003.MP3, 001.MP3, 002.MP3, 004.MP3, etc. y luego no haya confusiones de la orden de los archivos se reproducirán.