

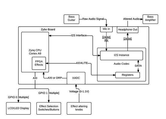
La tarjeta Digilent Zybo está construida alrededor de parte de Zynq SoC (System on Chip) de Xilinx. Este IC tiene un doble núcleo de Arm A9 que funcionan como cualquier otro microcontrolador. Lo que la hace especial es que también tiene hardware FPGA en el mismo IC como el procesador.
Este tutorial fue escrito usando nuestra experiencia del curso 439 EE tomado en California Polytechnic State University, San Luis Obispo en el año 2015 de la primavera. Una buena aplicación de esta tabla es diseño y desarrollo de filtros digitales en tiempo real para guitarra bajo. La idea básica de este proyecto es tomar datos audio de la entrada de línea, convertir a datos digitales, procesarlo, convertir a señal analógica y salida a través de los auriculares hacia fuera. La Junta de Zybo contiene un SSM 2603 baja potencia Audio Codec a bordo que se utiliza para recibir y transmitir audio. Este sistema de filtrado en tiempo real fue diseñado para ofrecer a los usuarios las siguientes especificaciones: usuario proporcione con dos filtros: usuarios distorsión limpia proporcionan la opción para controlar el efecto de recorte. Proporcionar a los usuarios para cierre el audio completamente. Componentes necesarios para este proyecto son: Zybo Zynq-7000 desarrollo Junta AUX cable auriculares o altavoces potenciómetros este tutorial también se supone que tiene el IDE Vivado y los conductores de Zybo ya instalados. Hay un montón de buena información por ahí acerca de cómo hacerlo si no!
Amablemente el archivo zip adjunto a extraer todos los archivos es necesarios usa todo el instructable.













