Paso 3: Mecanización: los fundamentos

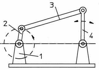
El mecanismo de 4 barras constituye la base de mecanismos de acoplamiento planar. Se va a transformar movimiento circular en movimiento oscilatorio y el acoplamiento planar más simple que se puede hacer.
Grados de libertad (DOF)
Grados de libertad es un término que indica en cuántas maneras independiente puede mover un mecanismo, o el mínimo número de coordenadas necesarios para describir el sistema.
Autómatas suelen tienen un grado de libertad. Si se gira la manivela, las otras partes se moverán de una manera prescrita. Puede ser demostrado matemáticamente que para lograr esto, el número total de enlaces tiene que ser un número par.
Incluyendo el enlace de la tierra, se observa que el mecanismo de 4 barras tiene un grado de libertad. Posteriormente, si se agregan dos enlaces más a una barra de 4 vinculación, tenemos una barra de 6 vinculación que también tiene un DOF. Esta manera, se puede crear una máquina más compleja; simplemente añadiendo más enlaces.













