Paso 2: Los LEDs

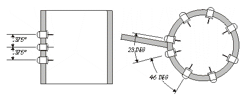
Diseño de la posición de todos los agujeros de LED en la carcasa del sensor según el diagrama de abajo. Habrá ocho filas con tres LEDs en cada uno. Cuatro filas de LEDs se conectan en paralelo y conectan el circuito de impulsión del motor de este o el circuito de impulsión del motor del oeste. Sacador de centro y taladro el 24 LED en el sensor de vivienda asegurándose de que cada agujero es perforado perpendicular al eje de la caja de sensor y que cada sistema de tres agujeros son alinean paralelo al eje de la caja de sensor. Cada fila está espaciada 43 grados aparte y cada LED es espaciadas. 375" en cada fila. Los LEDs de este y del oeste están separados por 23 grados utilice una broca de tamaño adecuado que permitirá a cada conductor a ser presionado firmemente en lugar. Simplemente puede perforar algunos agujeros de prueba en un retal de ABS para encontrar el diámetro de broca adecuada.