Paso 4: Ajustes de lado

Esto sirve para tirar el borde a la derecha, asegurándose de no tirar el borde más a la derecha que el agujero de la válvula que fue mi punto de referencia, de lo contrario el conjunto de llanta y rueda no estar centrado en la horquilla frontal basculante.
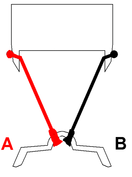
En el diagrama, si la llanta está demasiado a la izquierda A apriete el rayo negro va a la derecha del eje.
Además ajuste rojo A radios serviría para detenerse el borde a la izquierda.