Paso 1: Realice el cableado de la placa de relé cuatro dos manera cambia y cuatro 3 pines zócalos
















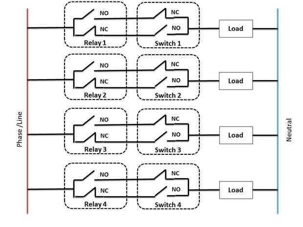
He creado unos diagramas para ayudarle con el cableado. El primer diagrama es un esquema lógico. Se encuentra a un lado una línea vertical de color rojo que es la fase/línea de CA y a la derecha hay otra línea vertical que es el neutro. En la placa de cuatro relé NC (normalmente cerrado circuito) y NO (circuito normalmente abierto) del relé están disponibles. El interruptor de dos vías tiene tres terminales - NC, NO, común y es generalmente como se muestra en uno de los diagramas. La razón para utilizar un interruptor de dos vías es que tanto físicos como con tú teléfono móvil para activar o desactivar algún dispositivo.
El diagrama lógico muestra cómo se hacen las conexiones. Permítame mostrarle el estado y la condición de carga basado en el estado del relé y del interruptor
Interruptor y carga de interruptor de relé
NO NC NO NC estado estado
0 1 0 1 AMBOS OFF DESACTIVADO
1 0 0 1 RELÉ ON
1 0 1 0 APAGADO TANTO EN
0 1 1 0 EN ENCENDER
Espero que esto sea claro. La carga aquí en mi caso será la toma de tres clavijas puede también conectar directamente la carga (ventilador, TV, luz etc.) pero asegúrese de que tomar las medidas necesarias mientras se conecta a la cañería.