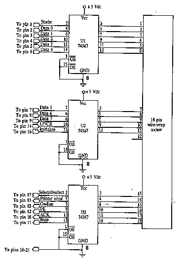
No romper ningún puerto paralelo de la soldadura. (8 / 14 paso)

Paso 8: Muy pronto!

Sugerencias sobre cómo utilizar el cable de desbloqueo.
http://www.ePanorama.net/Circuits/parallel_output.html

Primera foto es para proteger el puerto paralelo todo cuando lo interfaces.
Gracias a Godon McComb.
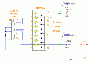
Segunda imagen es una forma de gancho de relé de puerto paralelo.
Tercera foto es forma para conectar leds al puerto paralelo.
Cuarta foto es la vieja manera de moda para conectar leds al puerto paralelo.
Foto quinta es de una interfaz de motor de 5 hilos paso a paso.

Artículos Relacionados

Mini puerto paralelo romper el cable.

Mini puerto paralelo romper el cable.

Este cable sólo permite 8 alambres pero funciona bien para la mayoría de las cosas. Pensamiento sea más fácil de hacer que el "no soldadura puerto paralelo breakout () cable que hice antes. Será parte de la antena de tv de ota de controlado por orden
Utilizar puerto de juegos de Sidewinder de 15 pines a través del puerto paralelo

Utilizar puerto de juegos de Sidewinder de 15 pines a través del puerto paralelo

Este instructable le mostrará cómo poner tu edad 15 pines MS Sidewinder para volver a utilizar.  Yo tuve uno de estos de mentira alrededor de la casa y recordó lo mucho que amo el diseño de botón imitando el mando clásico de Sega Saturn; sin embargo,
Conectar un LED de 7 segmentos a un puerto paralelo

Conectar un LED de 7 segmentos a un puerto paralelo

este instructivo puede consultarse en la web del autor - http://www.neatinformation.com/Si usted enlace a este instructable desde otro sitio web, por favor incluya un enlace a la Web de Información aseado .El proyecto descrito en este artículo requie
Domótica / Control de un relé con su puerto paralelo

Domótica / Control de un relé con su puerto paralelo

esta es mi versión de control de dispositivos externos con el ordenador. Es decir, con el LPT o puerto paralelo.El software es de Lalim, versión 3.0.6. La patente ya no era válidos escenas de 2009 y el link directo a este controlador ya no funciona.
JUGANDO con puerto paralelo (hacen su propio GUI con TURBO C para controlar tu ROBOT

JUGANDO con puerto paralelo (hacen su propio GUI con TURBO C para controlar tu ROBOT

Este instructable es parte de mi libro jugando con puerto paralelo. en este instructable vamos a ir para aprender acerca de Turbo c comunicación con puerto paralelo. deja comienzo...es parte de ser necesario1 LED (diodo electroluminoso)2 los cables d
SNES para puerto paralelo

SNES para puerto paralelo

los pasos básicos para modificar el controlador SNES para conectar al ordenador mediante el puerto paralelo.Paso 1: Pelar el cable de controlador de SNES Tira el extremo del cable de controlador SNES (Super Nintendo Entertainment System) (el extremo
Controlador de puerto paralelo 3 ejes CNC, motores PAP unipolares, Opto-aislado

Controlador de puerto paralelo 3 ejes CNC, motores PAP unipolares, Opto-aislado

Controla a 3 motores paso a paso unipolares, para uso con máquinas CNC. Controlador simple con cierre automático de la bobina, para asegurar una operación eficiente.  Opto-aislada para la protección de los soportes de P.C. más paraleloPuerto basado s
Puerto paralelo base medidor VU

Puerto paralelo base medidor VU

metros de unidades de volumen (VU) siempre han sido los proyectos más divertidos y simples para los amantes de la electrónicos y aficionados. Medidores de VU son esos artilugios poco en su estereofonia u otros productos electrónicos de audio que mues
COCHE de RC (interfaz de puerto paralelo)

COCHE de RC (interfaz de puerto paralelo)

introducción (ADVERTENCIA código puede sólo funcionar con WINDOWS XP)Este proyecto fue acerca de cómo operar un coche de control remoto mediante el uso de un dispositivo de entrada conectado con una computadora, para ello tenemos que conectar el mand
¿Cómo programar Attiny85/45 con puerto paralelo?

¿Cómo programar Attiny85/45 con puerto paralelo?

Hi all! Hoy voy a mostrar... bla bla bla xDTe hace falta:6(reccomended) o cable plano de 10Fuente de alimentación (necesitado para la programación, ya que la energía no puede obtenerse de la LPT)NB! Si el voltaje es más de 5v, necesita regulador de v
Ningún órgano de luz de soldadura

Ningún órgano de luz de soldadura

Este instructivo también es conocido como la sonda de luz Audible por bosque Mimms III y compilaciones de estos gran Instructables: Photothermin () y cómo hacer un fácil Phototheramin (de).Hecho de este instructable como estaba buscando un barato, im
¿Paralelo puerto romper hacia fuera tablero (BOB)

¿Paralelo puerto romper hacia fuera tablero (BOB)

siempre quiere en interfaz con una computadora? No me refiero de manera regular, significa los cables de faja real abajo y sucio y cosas en la clase de interfaz del enchufe! ¡ sí! ¿No? Luego este Instructable no es para usted y usted debe pasar ahora
Caja de relés cantar calabazas/paralelo puerto

Caja de relés cantar calabazas/paralelo puerto

este Instructable le mostrará cómo construir una caja de relé de puerto paralelo que se utilizará para conducir un aparejo de canto calabaza Halloween. El aparejo de canto calabaza es básicamente un espectáculo de luz y música sincronizado que se sup
Calculadora de velocidad de puerto en paralelo

Calculadora de velocidad de puerto en paralelo

aquí es un proyecto limpio que puede medir qué tan rápido algo va. Es muy fácil de hacer, requiere pocas piezas y es divertido de usar. Simplemente se conecta al puerto paralelo de una computadora y con software, puede registrar la velocidad de un ob