Paso 7: Las principales piezas de madera








Dibujar dos contornos del"Tractor" en un pedazo grueso de 25mm [0,984"] de la madera. De la abrazadera hacia abajo de la madera y cortar la forma con la sierra caladora.
Lije todos los bordes para un acabado liso y redondo.
Marque las ubicaciones de los tres agujeros en cada pieza, primero con un lápiz, luego si es necesario con el punzón de centro.
Si usas 5mm [0,197"] tornillos como lo hizo, puse un 3,5 mm [0.138"] en la prensa de taladro del taladro. 1/4" tornillos Seleccione 4mm [0,157" = ~11/64 "] taladro de diámetro. Perfore el solo a través del orificio en el lado grande de cada pieza.
Intercambiar el taladro con una broca de 9mm [0,354"].
Configurar el medidor de profundidad de su taladro a 12mm [0,472"] desde la parte superior de la pieza.
Taladre los orificios en la parte superior.
Elegir una cubeta o un taladro más grande, poner en el taladro y añadir un pequeño champfer a los agujeros en la parte superior.
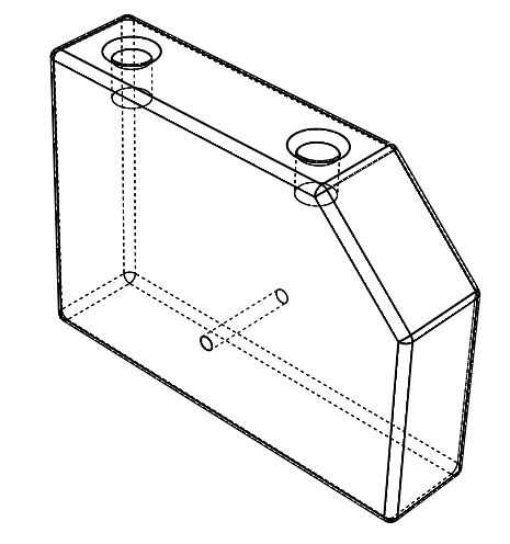
"Cuerpo principal del tractor"
Trazar las ubicaciones de contorno y el agujero del "Cuerpo del principal Tractor" en un pedazo grueso de 38mm [1,496"] de la madera. Este es el grueso de un 2 x 4 por la forma como se muestra aquí.
Sujete la pieza de madera en su área de trabajo. Antes de cortar cada línea, asegúrese de que la hoja de la Sierra de calar no se corte en la superficie de trabajo.
El "Tractor principal cuerpo" entero cabe en un rectángulo con dimensiones 230mm [9,055"] x 75mm [2,953"].
Cortar los tres lados de este rectángulo que son ortogonales entre sí, es decir, la parte inferior, hacia atrás y parte superior del cuerpo.
A continuación, corte la línea delantera de su tractor. El ángulo de este corte es ligeramente menor que 90 grados.
Corte ahora a lo largo de dos secciones redondas para la parte de la rueda delantera como para el área de pasajeros. Mantenga que su plantilla vio y muévalo muy lentamente a lo largo de la línea. Aserrado de soplar el polvo fuera como usted. Cuando haya terminado, usted mismo palmaditas en la espalda, coge un papel de lija y redondear todos los bordes y cortar las superficies un acabado liso.
Marque las ubicaciones de los orificios para el mecanismo de dirección, las ruedas de manejo y el enganche. No hay necesidad de marcar los agujeros para las ruedas, se perforan más tarde durante la Asamblea y no ahora.
Utilice un sacador de centro si utiliza brocas de uso general para hacer muescas en los lugares de perforación. Esto incluye la ubicación de la rueda de manejo.
Coloque una broca de 8mm [0,315"] en el taladro.
Asegure la pieza de trabajo, parte inferior hacia abajo, en su vicio. Asegúrese de que esté a nivel y bien sujeta.
Con el taladro, taladro grande a través del orificio para el enganche entre los dos agujeros más pequeños.
Mida el diámetro de la base de los tornillos que desee utilizar para la placa de enganche.
Seleccionar la broca adecuada y poner en el taladro.
Establecer el indicador de profundidad a menos de 9mm y perfore los dos orificios de la placa de enganche.
Seleccione una broca de 11mm [0,433"] y poner en el taladro.
Perfore el agujero a través del mecanismo de dirección.
Cambiar la broca hacia atrás a una broca de 8mm [0,315"].
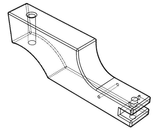
Ahora estamos taladrar el agujero para el eje"volante", que es quizás la parte más difícil de la construcción entera. Sería buena práctica si funcionan mis sugerencias. Puede depender de su vice, taladros, taladro y experiencia. Agradezco sugerencias para facilitar un poco esta parte en particular.
Afloje el tornillo y gire la pieza de trabajo hasta que el taladro es ortogonal a la superficie de madera. Cuidado, este no es el ángulo del agujero de taladro indicado por el dibujo, pero un ángulo mucho más plano. Estamos haciendo esto para evitar que el taladro a caminar. Taladro 1-2mm en esta dirección.
Afloje la mordaza y cambiar el ángulo a la indicada para el "eje de la rueda de manejo". El medidor de profundidad 25 mm [0,984"] de la parte superior de la superficie de madera y el taladro. Perforar lentamente y asegúrese de que el taladro no es caminando.
Casi listos. Ahora estamos recortando el área cóncava donde se coloca el enganche al final de la carrocería del tractor.
Con la ayuda de una regla, mida y marque la ranura en el lado de la carrocería del tractor. Tome su jig Sierra y corte el varias veces en la pieza hasta obtener la forma de la ranura.
Quitar todos los bordes y rebabas usando papel de lija.
"Tractor Top"
Dibujar el contorno y agujero lugares del"Tractor" en una pieza de espesor 9,5 mm [0,374"] de madera. De la abrazadera hacia abajo de la madera y corte utilizando la sierra caladora.
Lije todos los bordes para un acabado liso y redondo.
Dependiendo del taladro utiliza marca las cuatro ubicaciones de perforación con un punzón.
Coloque la pieza cortada en un trozo de madera y tanto en la mesa del taladro.
Ajuste el medidor de profundidad de la prensa para taladro 6mm [0,236"] en la madera.
Taladrar los cuatro orificios.
"Carrito de remolque"
Trazar las ubicaciones de contorno y el agujero del "Tractor carro" en una pieza de espesor 30mm [1,181"] de madera. De la abrazadera hacia abajo de la madera y cortar la forma con la sierra caladora.
Lije todos los bordes para un acabado liso y redondo.
Mida el diámetro de la base de los tornillos que desee utilizar para el enganche. Marque las ubicaciones y guión con su punzón de centro.
Seleccionar un diámetro de broca algo menor que el diámetro de la base de los tornillos y sujete en el taladro. Ajuste el medidor de taladro para evitar taladrar la madera. Perforaciones para el "enganche del Tractor" en la parte inferior de la madera.
Utilice el punzón de centro para hacer una muesca profunda para los 12 agujeros en la parte superior de la madera.
Sujete la madera a su vice, de modo que usted puede perforar 22,5 grados en ángulo con el taladro. El vicio es importante para que usted pueda mantener un ángulo reproducible por todos los agujeros de la tesis.
El primer conjunto de seis agujeros de taladro.
Participar de la vice, voltearla y repetir el procedimiento.