Paso 3: Cómo funciona

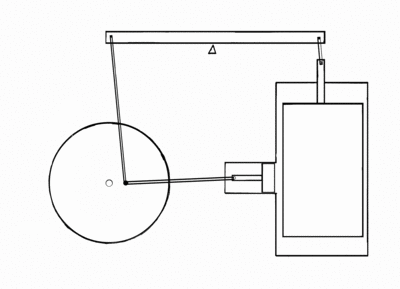
Hay algunas piezas básicas para el tipo de motor de stirling que vamos a construir. Es el volante, pistón de potencia y displacer. El pistón de potencia es lo que captura la expansión y contracción del fluido de trabajo. El desplazador mueve aire dentro del motor para calentar para arriba o refrescarse apagado. El volante mantiene el impulso y enciende el motor a la siguiente etapa mientras no está empujando el pistón de potencia o en el movimiento de tirar cuando es más débil.
Motores Stirling calentar y enfriar un fluido (aire) para hacer que se expanda y se contraiga para empuje y jale el pistón de la energía que gira el volante y provoca el desplazador cambiar posiciones. Hay 4 pasos en este proceso:
1. el desplazador se eleva y el aire es empujado hacia el lado caliente, causando que el aire al calor para arriba
2. el aire caliente se expande y empuja el pistón hacia fuera, girando la rueda
3. el desplazador se baja y mueve el aire hacia el refrigerador
4. los contratos de aire refrigerado tirando el émbolo en girar la rueda haciendo que el ciclo para repetir.