Elmer Elf--Santa Claus tienda 2016 (23 / 28 paso)

Paso 23:

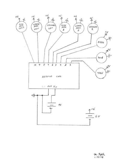
Utilizando un Arduino, alambre según este esquema y usar el bosquejo para la ley pequeña que proporciona.

Artículos Relacionados

Santa Claus tienda 2016

Santa Claus tienda 2016

Santa Claus tienda 2016 será una pantalla altamente animada, como las viejas ventanas del almacén, pero actualizado con la tecnología más reciente. La pantalla, 7 pies de ancho, 7,5 pies de altura, 3 pies de profundidad estará disponibles para su vis
Automatizado Wheelo--Santa Claus tienda 2016

Automatizado Wheelo--Santa Claus tienda 2016

¿Nunca llegaste cansado de operar su Wheelo a mano? Sé que hice, así que tengo automatizado el proceso utilizando un servo motor para subir y bajar la rueda, un transductor ultrasónico ping para detectar la ubicación y un Arduino para manejar la retr
El pequeño muchacho del redoblante (Invisible)--Santa Claus tienda 2016

El pequeño muchacho del redoblante (Invisible)--Santa Claus tienda 2016

Este tambor desempeña por sí mismo con magia palos (magnéticos). Es parte de Santa Claus tienda 2016, una pantalla de Navidad que está en construcción.Paso 1:Para construir este tambor, hay varias piezas impresas 3d, dos electroimanes, un Arduino y u
Servo controlado mono Palmas--Santa Claus tienda 2016

Servo controlado mono Palmas--Santa Claus tienda 2016

Este servo motor controlado Palmas mono es uno de muchos dispositivos móviles se encuentran en 2016 de pantalla de Navidad. Esta toma en el mono caja estará acompañada por elfos, Santa y juguetes inusuales para llevar a cabo un programa de electromec
Magnético con patín figura--Santa Claus tienda 2016

Magnético con patín figura--Santa Claus tienda 2016

Este coche con imán (figura skateboard) es uno de muchos dispositivos móviles se encuentran en 2016 de pantalla de Navidad. Esta figura estará acompañada por los elfos, Santa y juguetes inusuales para llevar a cabo un programa de electromecánico.El p
DIY escritorio giratoria Santa Claus

DIY escritorio giratoria Santa Claus

Hola chicos!Bueno nos vemos todo después de mucho tiempo...Bienvenido a nuestro último DIY...Y esta vez vamos a hacer un DIY escritorio giratorio Santa Claus de la máquina de reloj viejo pero trabajo...Así que vamos a empezar...Paso 1: Ver el Video..
Diseño de su Santa Claus con Tinkercad

Diseño de su Santa Claus con Tinkercad

se acerca el día de Navidad, tal vez están preparando para el día especial. Diseño de un modelo e imprimir, decorar tu casa con este, que será muy cool. Aquí es un Santa Claus modificado para requisitos particulares hecho por ti mismo.Software:Tinker
DIY trineo de Santa Claus con regalos | Arte de dar

DIY trineo de Santa Claus con regalos | Arte de dar

¡Hola!Navidad puede ser más... pero todavía me encanta esta idea! ****Esto es tan divertido regalo de Navidad lleno de un montón de regalitos! La belleza de este pequeño trineo de Santa Claus es que usted puede poner lo que usted puede encontrar o ca
Cómo romper con tus hijos que Santa Claus no es real

Cómo romper con tus hijos que Santa Claus no es real

eso es todo. Estás cansado de hacer furtivamente alrededor de la casa para esconder los regalos, diciendo a su hijo que No, ésos no son ardillas en el ático, es Santa en el techo!, comer zanahorias perderan por Rudolph (bien, así que tal vez todavía
Pendientes de Navidad DIY - cómo hacer un par de pendientes hechos a mano Santa Claus

Pendientes de Navidad DIY - cómo hacer un par de pendientes hechos a mano Santa Claus

¿Buscas pendientes hechos a mano de Navidad? Tutorial de hoy le dirá cómo hacer quilling pendientes de Papá Noel de papel. Espero que les guste. Hay muchas cuentas pendientes de Navidad en nuestro sitio Web. Hoy, te diré cómo hacer a un par de papel
Makedo salto Santa Claus

Makedo salto Santa Claus

Navidad es nuestra época favorita del año. Hay tanto empaque alrededor para proyectos creativos! Pero antes de abrir sus regalos, vamos a demostrar lo emocionado con esta creación de Makedo Navidad que Santa saltando para la alegría.Hemos hecho nuest
Como dibujar Santa Claus

Como dibujar Santa Claus

aprender Cómo dibujar a Santa Claus con mejor dibujo tutorial en línea.Paso 1:Paso 2:Paso 3: Cómo dibujar a Santa Claus Aprender cómo dibujar a Santa Claus con el mejor tutorial de dibujo en línea.
Pastel de Santa Claus de panettone y fondant

Pastel de Santa Claus de panettone y fondant

he hecho este pastel de Navidad para la fiesta de Navidad en la guardería de mi hijo.Santa Claus es hecho por panettone (un mantecoso tradicional, pastel de pan de Navidad con sabor a vainilla de Milán, alto y redondeado en forma) cubierto por fondan
Cómo a dibujar Santa Claus de la película Rise of los guardianes

Cómo a dibujar Santa Claus de la película Rise of los guardianes

aprender Cómo a dibujar Santa Claus de la película Rise of los guardianes con el mejor tutorial de dibujo en línea.