Paso 5: Ilustrando los temas a través de esquemas

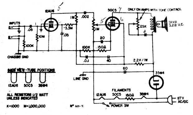
Aquí es un esquema para el amplificador (complementos del sitio web de Paul Marossy.)
Es muy típico de este tipo de amplificador. Tenga en cuenta lo siguiente:
--la falta de un transformador de potencia.
--no hay fusible en el circuito.
--el diodo 35w4 está directamente conectado a la red.
--las GNDs están conectados directamente a la red (este ni siquiera tiene la protección de un "casquillo de muerte!")
-los filamentos del tubo se conectan en serie, directamente a la red.
¿Cómo lo soluciono?--Añadir un transformador de aislamiento
--Añadir un fusible
-redireccionar el interruptor ON/OFF
--Añadir un cable de tres puntas y una conexión a tierra adecuada
Un tema se tratarán más adelante: usando un transformador de iso con un circuito de rectificación de media onda.