Paso 1: esquema

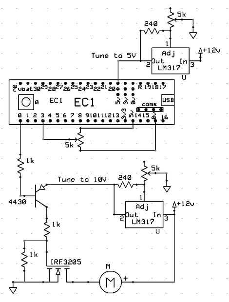
Es el esquema de este circuito completo incluyendo el pin exacto de la EC1 cuando se mira desde la parte superior
El regulador de alimentación el EC1 se debe templar a 5V y es de NO más 4.8 4.9 ok es 5v ok es aceptable pero para ser segura y no freír el EC1 no ir por encima de los 5v
El regulador que alimenta el circuito de conmutación debe ser de 9.5v a 10v