Paso 4: Hacer que los sensores y la red




He tenido algunas malas experiencias con otros cables y con la combinación de diferentes tipos de cable.
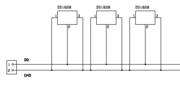
Cuando se ejecuta sobre cat5, el bus 1wire puede tener cables muy largos.
En una configuración de weatherstation, corro un cat5 de 30 metros de una sala técnica con un ordenador Linux y hasta el techo. En el techo, el cable se divide en 3 cables largos de 5-15 metros con un sensor en el extremo de cada uno. Esta configuración funciona sin problemas. La red 1-wire es bastante robusta.
Que hace el sensor:
Quieres hacer el sensor impermeable y rígida.
1)
Corte de un cable Cat 5 a la longitud deseada.
2)
-Aislar el extremo del sensor.
Corte 3 de los 4 pares, dejando el verde/whitegreen uno.
3)
Deslice un tubo pequeño encogimiento sobre el cable verde.
4)
Suelde el cable verde al pin medio del DS1820
5)
Tire de la contracción del tubo, por lo que abarca todo el metal de la pierna media y el metal del cable conectado a él. Entonces la calienta con un encendedor o una pistola de calor para encogimiento en lugar
6)
Suelde el cable blanco/verde a los otros dos pines.
7)
Coloque un tubo retráctil más grande sobre el sensor y el cable.
Ver la imagen.
Calentar luego ligeramente con un encendedor para reducir el tamaño en el lugar.
No quiero prendieron fuego a la cosa, solo mantenga la llama 4-10mm de tubo retráctil.
8)
Poner tus sensores donde quieras tenerlos, conectarse a la interfaz rs232 y enchufe en el ordenador.