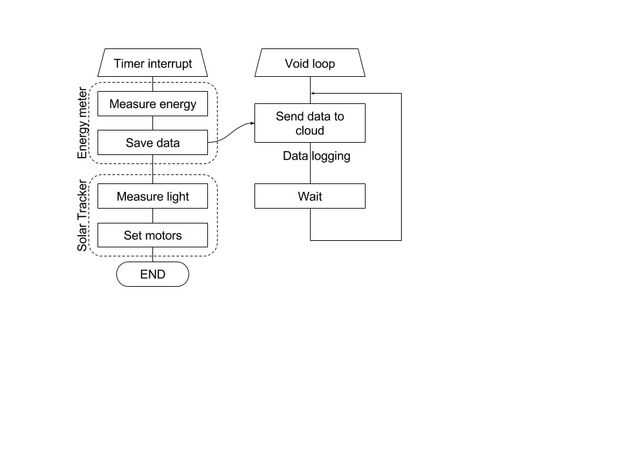
Paso 1: Resumen



En este paso voy a salir en todos los componentes utilizados en este proyecto.
Paneles solares:
Utilizamos 2 paneles solares de cada 12V 150W que llevará el total a 300W.
Monitor de energía:
El monitor de energía utiliza 2 sensores de corriente, para medir la corriente.
Y un divisor de tensión para obtener la tensión hasta un voltaje que puede manejar el Arduino su convertidor analógico-digital o ADC.
Si no desea hacerlo usted mismo puede comprar uno así: enlace de ebay
Sensor de dirección de la luz:
Dirección de la luz es detectada por cuatro resistencias dependientes de luz o LDRs. Cada uno de las LDRs se coloca en un divisor del voltaje y la señal se alimenta a la Arduino su ADC.
enlace de eBay
El interruptor de tope
La parada final asegura que la construcción no choca en su auto.
Los motores
Los motores son actuadores lineales 12V desde internet.
Y se controla mediante un puente H muy simple.
Controladores de motor en ebay
ESP8266
El ESP8266 es un módulo WIFI barato que utilizamos para enviar los datos a un flujo de datos de ThingSpeak
La pantalla LCD
La pantalla se utiliza para mostrar los valores del monitor de energía
El microcontrolador
El microcontrolador que hemos utilizado fue un Arduino ATMEGA 2560
Arduino MEGA 2560 R3 ~ 10$ - Ebay
El cargador
Para el cargador se debe buscar un chager MPPT (punto de energía máximo que sigue). Y de seguro no comprar el en la foto porque esta sobrecargada de nuestras baterías y no MPPT.