


Este proyecto fue uno de mis proyectos que hice en mis estudios de intercambio en Finlandia.
Para este proyecto trabajé junto con Fatbardh.
Esta es una versión mucho más grande y más avanzada de uno de mis primeros proyectos siempre.
También un seguidor solar:.
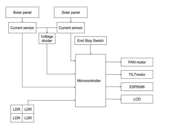
Las características de este seguidor solar son:
- Seguimiento solar: asegurándose de que los paneles solares están alineados con el sol tanto como sea posible.
- Monitor de energía: esto mide el voltaje y la corriente generada por los paneles y calcula la energía generada y la energía.
- Registro de datos: envía los datos desde el monitor de energía a la nube de ThingSpeak.
- También hay una pantalla LCD para mostrar los valores del monitor de energía
Este Instructable no es un plan paso a paso de cómo construir esto. Esto es una demostración de cómo lo hicimos, para darte una idea de cómo empezar a crear su propia versión mejorada de.
También es mi entrada para el concurso de impresión 3D:
Me encantaría tener una impresora 3D. Me ayudará mucho para hacer otros proyectos. Para engranajes y cajas.
Así que si has encontrado este Instructable es interesante por favor vote para mi Instructable en el concurso de impresión 3D.
Mis excusas por mis errores de ortografía, usted puede siempre me dejan saber si algunas ves.