Paso 2: Entender el diseño


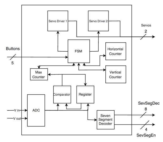
Para completar este proyecto y entender completamente lo que vas a hacer, primero debe entender el diagrama de caja negra. Esto es básicamente un resumen de todos los módulos que componen el sistema en el FPGA. Ahora entraremos más en profundidad en el funcionamiento de cada módulo, lo que hace dentro del circuito y cómo diseñar el módulo. Si usted alguna vez confunde al leer la descripción de los módulos individuales, volver a este cuadro y observe cómo está conectado el módulo que usted está confundido acerca de. Esto puede ayudar a aclarar el diseño.













