Mecánica Pi (5 / 11 paso)

Paso 5: Física código objeto

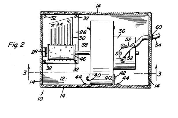
Que necesitábamos para manejar golpear físicamente los botones necesarios en la calculadora de bolsillo y repetidamente para hacer uso de la Leibniz formula. Pensando en algo que tiene una información física repetitivo que recordamos el rodillo de las cajas de música de muchos de nosotros teníamos como un niño.

Esta tecnología simple haría el trabajo.

Artículos Relacionados

Resumen de mecánica de bicicleta

Resumen de mecánica de bicicleta

algunas ideas, por favor no considerarlas Evangelio.Busco en otros lugares el detalle. Por 'otra parte', pude significo GCN, Sheldon Brown, Park Tool y sin duda muchas otras en sitios para compartir vídeos.Paso 1: Historia en pocas líneas de 1800La b
Mecánica del corazón

Mecánica del corazón

Cajita hecha con arcilla polimérica, con mecanismo rudimentario.Usted puede llenar con palabras de amor y ofrecer a alguien especial!Paso 1:Materiales utilizados en este proyecto:-Arcilla polimérica-2 cortadores de la galleta con 2 tamaños diferentes
Mecánica escarabajo

Mecánica escarabajo

primera vez que vi un "insecto de mecánica" en la oficina de mi profesor hace dos años. Desde entonces he notado les steampunk ferias y por Internet, y pienso que son realmente hermosas. Hace un gran romper el hielo y puede incluso dar lugar a d
Coche de juguete de madera mecánica

Coche de juguete de madera mecánica

este proyecto fue una tarea para la escuela. Actualmente estoy inscrito en mi primer año en la Industrial diseño Licenciatura de tecnología aplicada en el Humber College de Toronto. la asignación fue hacer un juguete de madera con al menos dos difere
Mano mecánica

Mano mecánica

Si te gusta este proyecto, entonces le animo a comprar mi libro, Ingeniero de goma. Está lleno de proyectos más impresionantes y originales hecha a mano de hardware del hogar. Usted puede encontrar donde se venden libros.Los estudiantes harán una man
Garra mecánica V1.0.

Garra mecánica V1.0.

Hey todos, este es mi primer concepto de una garra mecánica manual que una persona podría utilizar...Utiliza un principio algo extraño y soy consciente de los cambios que mejoran la funcionalidad...Allí no es un prototipo todavía, pero una vez obtene
Candy Vault - caja de madera con cerradura mecánica del secreto

Candy Vault - caja de madera con cerradura mecánica del secreto

Caja de madera con cerradura mecánica del secreto.Este juguete protegerá tus caramelos de ser comido por extraño :)Ideal para proteger tus caramelos de los niños o pequeños sicrets de nadie.Material: madera contrachapada/maderaMontaje: DIY o se reuni
Disfraz de Halloween con máscara de esqueleto, manos mecánicas, sonidos bolas del ojo LED reactivas y truco cabeza caída

Disfraz de Halloween con máscara de esqueleto, manos mecánicas, sonidos bolas del ojo LED reactivas y truco cabeza caída

Hey, gracias por prestar atención a mi artículo, este es mi primer traje en el desfile de Halloween en Taiwán, en primer lugar, le agradezco que ha inspirado tantas en instructables, y finalmente vino para arriba con este disfraz de esqueleto con car
Control remoto Toyota (mecánica)

Control remoto Toyota (mecánica)

construir una máquina que será capaz de operar el gas/freno y ruedas no fue un obstáculo fácil de superar, utilizando algunos equipos prestados, logré construir un marco de trabajo que puede ser fácilmente desmontado del coche de mi esposa. (mina es
Araña mecánica robótica

Araña mecánica robótica

Para mi proyecto de tecnología 13 años yo estaba encargada de realizar cualquier proyecto de mi elección para un actor. Me decidí a diseñar, construir e implementar una araña mecánica controlada remota, ya que, ¿por qué no?Este proyecto es una fusión
Mecánicas arte Bots: Mecanismo de mecanismo de cuatro barras

Mecánicas arte Bots: Mecanismo de mecanismo de cuatro barras

Artbots famoso es divertido crear y ver dibujar. Una de las formas más comunes de les alimentación es utilizando un circuito simple con una batería y un motor de CC con un peso de compensación para crear vibración. El centro de equilibrio del motor h
Blog de sin conexión mecánica Steampunkers

Blog de sin conexión mecánica Steampunkers

está familiarizado con la sala de chat en línea, listas de correo electrónico, revistas, blogs, etcétera, bien este instructable le mostrará cómo realizar y utilizar un Blog OFFLINE.Usted se sorprenderá a la gente cómo fascinada con una vieja máquina
Gratis 3D CAD modelado con DesignSpark mecánica

Gratis 3D CAD modelado con DesignSpark mecánica

Generalmente es un proyectos buena idea DIY (y no sólo bricolaje) para modelar el futuro dispositivo en 3d antes de iniciar realmente hacer algo. Puede ahorrar su tiempo y recursos y darle algunas ideas sobre las mejoras de su idea inicial. No dicien
Pequeño planeta: Un 3D impreso escultura mecánica

Pequeño planeta: Un 3D impreso escultura mecánica

He creado esta pequeña escultura mecánica utilizando piezas impresas casi totalmente 3D. Los ejes son de acero, y hay algunos hardware del metal, así: eje collares para sostener los ejes/engranajes en su lugar, unos cojinetes con bridas de bronce y a