Paso 3: Conecte los relés





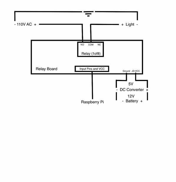
El módulo de relé de 8 canales se utiliza para proporcionar energía a cada uno de los 7 hilos de luces. Las luces utilizan 110 V CA por lo que es importante utilizar un relé aislado para proteger la frambuesa Pi desde el circuito de alto voltaje. La Junta utilicé tuvo opto-aisladores construidos cada relé en el tablero. 3.3 V de salida de la Raspberry Pi sólo es capaz de alimentar a algunos de los relés a la vez. Si has intentado activar los 8 al mismo tiempo, nada pasaría. Para solucionar esto, la energía es proporcionada en el módulo de relé por una batería de 12V se separa. Puesto que el módulo relé 5V, se utilizó un paso de DC conversor para convertir la señal de 12V a 5V. El + y - las salidas del convertidor están conectadas a los pines en la placa de relé en la esquina inferior derecha JD-VCC y tierra. Un buen recurso sobre el funcionamiento de la placa de relé se puede encontrar en: Arduino Tutorial de energía.
El diagrama del circuito completo se muestra en el croquis adjunto. Un cable (+) de cada uno de los filamentos de luz 7 está conectado directamente a la terminal COM (común) de cada relé. La terminal (nominalmente abierto) NO de cada relé fue conectada a la corriente alterna de 110V de un bloque de terminales. El otro cable (-) de cada uno de los filamentos de luz 7 está conectado a tierra. Un cable de extensión de 110V AC fue conectado en el tomacorriente de pared y el otro extremo del cable de extensión fue corte y atado a un bloque de terminales positivo y negativo. El uso de los bloques de terminales hace un poco más fácil organizar los conjuntos de cables de 7 y una común + 110V AC y la tierra.
Terminé usando una 12V recargable batería de plomo de la placa de relé de potencia. Probé una pila alcalina de 9V y una 6V 7amp hora batería de plomo y tuvo problemas con ellos funcionando fuera del poder. He recargado la batería de 12V con un cargador solar cada 4-5 días y no tuvo más problemas de energía.
Por último, los 8 pines de entrada y el pin VCC (no se debe confundir con el pin de VCC JD) están conectadas a la frambuesa Pi. Simplemente seleccione un conjunto de 7 pines GPIO de la Pi y asegúrese de que el software está codificado con el mismo número de pin que conectado (ver siguiente paso).