Paso 9: La estufa de Alcohol




Con la caldera ahora terminado, tenía las dimensiones de la estufa. Este fue donde el proyecto tener éxito o fracasar.
Me enteré de que de las dos clases de alcohol pequeña estufa diseños por ahí, los sellados donde un poco más seguro. Pero aún, si uno caiga, usted todavía podría conseguir alcohol encendido en el lugar.
Y también había el problema de la cantidad de combustible necesario. En todos los diseños encontré que llena para arriba de la estufa con combustible y lo utilizó hasta que funcionó hacia fuera.
Construir prototipo #1 basado en este concepto. Era pequeño, funcionó durante 20 segundos antes de usar su combustible y casi me tiene quemado.
Ahora sabía que necesitaba obtener más combustible en la estufa, sino que significó una estufa más grande y que rompería la restricción 1. Esto me dijo que mi cocina tenía que ser alimentado externamente.
Línea de investigación dio sólo 1 tipo de estufa que el proyecto de ley (www.minibulldesign.com/) pero mirando esas hermosas estufas, estaba claro que rompieron las limitaciones de diseño 2,3 y 6.
No tenía ninguna opción pero al diseñar un nuevo tipo de estufa de alcohol pequeña, alimentados externamente, intrínsecamente seguro.
Me tomó más de un mes de trabajo, mucha y muchísima investigación y trasteando y refinar ideas, pero finalmente, prototipo suerte número 13... Waass aaliiiveee!!!!!!
Funcionó 18 minutos, 36 segundos en una carga completa de alcohol.
Realmente tenía la intención de escenificando un "accidente" donde se vuelque la estufa llena de combustible en un ambiente controlado.
Suerte, que mi torpeza adelantaste: durante un segundo funcionamiento de la estufa, después de unos minutos encendido, que accidentalmente golpear con mi mano y lo volcó. Puesto que todavía estaba usando un pedazo de cinta como el control de flujo de aire y tapa de seguridad, el alcohol salió y derramado sobre la mesa y me. La estufa se apaga inmediatamente después de punta por lo que el combustible derramado nunca consiguió encendido.
El diseño fue un éxito!
El diseño final es realmente simple y evidente en la manera de Buenos diseños tienden a ser. La parte más difícil fue llegar allí.
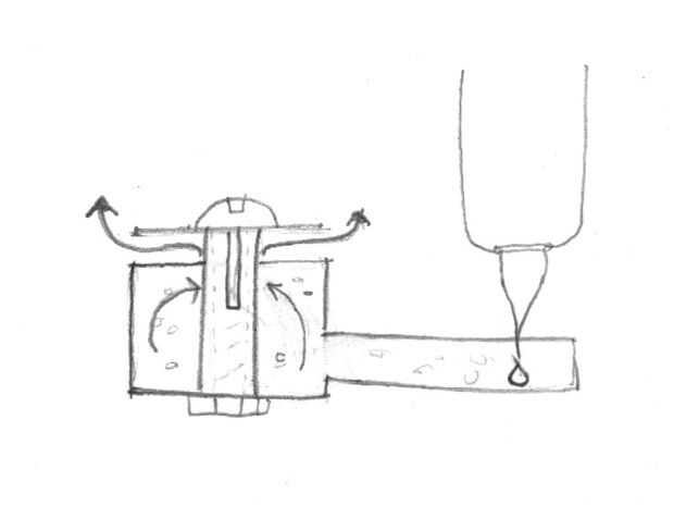
La estufa tiene tres partes principales:
1. tanque de combustible con control de flujo
2. vaporizador
3. difusor e intercambiador de calor.
La estufa funciona bajo el principio de vaporización solamente la cantidad de combustible para ser quemado inmediatamente. Esto nos da dos cosas buenas: permite a una fuente externa de combustible y ya que sólo una pequeña cantidad de vapor está disponible a las llamas, cualquier interrupción en el suministro de combustible se apagará la estufa (dificultad 6).
Había hecho un montón de diferentes tipos de controles de flujo (uno usando la válvula de un encendedor), pero al final, una simple jeringa desconectada con un poco de cinta adhesiva sobre la parte superior con 1 tamaño agujero en me dio la caída de uno por segundo que una estufa de este tamaño necesita. Era simple y barato (a pesar de que no venden nada en Home Depot, usted puede conseguirlos en cualquier farmacia). El caudal es tan pequeño, que el grifo del depósito de combustible sólo es necesario un pequeño agujero en la parte superior para equilibrar la presión y mantener el flujo. Esto también es una gran victoria en el Departamento de seguridad, porque el agujero es de hecho tan pequeño, que si la punta del depósito de combustible de su lado, combustible no sale.
Si quieres (y puedo apostar alguien) muy fácilmente puede escalar la estufa a un tamaño lo suficientemente grande para utilizar como un campo de la estufa (hay una idea para un futuro Instructable).