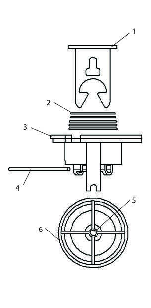
Paso 1: Hacer estallar el mecanismo


2. primavera
3. plataforma
4. plástico eje
5. eje
6. rueda
El juguete de popper de maíz tiene un "mecanismo estallido muy básico". Consiste en un acoplamiento, primavera, plataforma, plástico eje, un eje que se une a la rueda. El resorte y el acoplamiento serían colocados dentro de la caja de sangría en la plataforma luego encerrados en el lugar con el eje de plástico (a través de la forma clave-agujero en el acoplamiento).
El eje de la rueda tiene una pequeña muesca en el centro que cuando se dio vuelta, cogería un vínculo cargado pequeño, la primavera en el centro del cuerpo. Por lo tanto, cuando el juguete está activado, o empujó en la tierra, causaría la muesca del eje a girar y coger en el gancho del acoplamiento como se muestra en la imagen. Una vez que el árbol hace su manera alrededor de 180 grados opuesto, liberaría a la vinculación de la muesca del eje, causando en la reacción para hacer el movimiento estallido.