Detector de metales BFO (5 / 6 paso)

Paso 5: instrucción

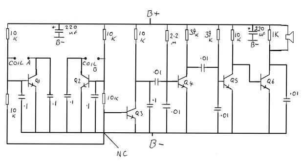
Bobina una bobina de búsqueda =: bobina B = referencia: NC no = conexión: B + = 9V PP3 batería o similar: B - = batería -

Artículos Relacionados

Casero detector de metales BFO hizo adición

Casero detector de metales BFO hizo adición

este es mi primer Instructable y no es un completo How-to. Esto se piensa para ser una adición a la muy útil Instructable, Inicio hace BFO detector de metal de JoelDude.Algunos antecedentes sobre este tipo de detector de metales:Un detector de metale
Detector de metales BFO hecho casa

Detector de metales BFO hecho casa

leí un par de hacerlo mismo metal detector write ups en la web, así como en la página de Instructables que mira exactamente como el de una página. Así que decidí hacer mi propio también. Sin embargo compone la mayor parte de como fui porque la inform
Detector de metales

Detector de metales

¿Por qué no descubrir la pérdida de los tesoros de civilizaciones pasadas (o bienes tal vez olvidados de una fiesta junto a la playa) con su propio detector de metales? En este Instructable, te voy a mostrar cómo construir un detector de metales que
Detector de metales simple

Detector de metales simple

el otro día cuando estaba buscando instructables me cruzo en el interesante y sencillo circuito para detector de metales. Es construir con bobina 555 y algunos otros componentes. Instructivo me inspiran a hacer este proyecto fue éste. El debate princ
Detector de metales de Arduino

Detector de metales de Arduino

Construir una mirada fresca y único detector de metales con búsqueda separada 5 bobinas esa luz hasta cuando se detecta el metal. La bobina de búsqueda más cercana al metal se ilumina mejor ayudando a identificar la ubicación del tesoro escondido!Pas
Cómo hacer un detector de metales barato y sencillo

Cómo hacer un detector de metales barato y sencillo

soy un gran fan de piratas. Sabe usted cómo caza para el tesoro. Pero la caza de tesoros no siempre es fácil. PERO tengo una cosa que puede ayudarle. El detector de metales SIMPLEST y más barato.Paso 1: 555 ic Primero que debe saber un poco sobre el
Convertir una calculadora en un detector de metales

Convertir una calculadora en un detector de metales

recientemente descubrí un método genial en el uso de algunos artículos para el hogar para hacer un Detector de Metal casero! Aquí está cómo hacer tu propio!Aquí está un enlace al video: http://www.youtube.com/watch?v=_G5HzeIl9cYPaso 1: Lo que usted n
¿Protector de bricolaje detector de metales bobina

¿Protector de bricolaje detector de metales bobina

apenas comprado un detector de metales y la emoción se olvidó de comprar una cubierta de la bobina? Yo también, pero no te preocupes seguro que tienen algo que se pueda reutilizar para adaptarse a la ley. " ¿por qué cubrir la bobina tiene una garantí
Arduino guante Detector de metales

Arduino guante Detector de metales

Este proyecto es para el uso de detección de metal para la diversión.He querido crear esta porque dejo caer mis joyas todo el tiempo y generalmente estoy gateando en el piso durante cinco minutos tratando de encontrar donde cayó. Para resolver este p
1, 2, 3, Detector de metales

1, 2, 3, Detector de metales

en este Instructable le mostraré cómo crear un detector de metales muy simple y de bajo costo. Este no es el tipo de detector de metales a gran escala que se puede utilizar en la playa sin embargo; Esto puede utilizarse para encontrar donde dos perno
Detector de metales portátil

Detector de metales portátil

Este instructable es sólo otra manera de hacer una fácil y barato portátil Detector de metales, utilizando uno de los 50 555 que está disponible en internet, en este libro: http://www.talkingelectronics.com/projects/50%20-...Simplemente he hecho mi p
Cómo impermeabilizar una caja de control del detector de metales para el ACE 250 por menos de $10

Cómo impermeabilizar una caja de control del detector de metales para el ACE 250 por menos de $10

Esto es como a prueba de agua los controles de mi detector de metales, que es un ACE 250 de Garrett.Solía hacer carcasas de cámaras subacuáticas como un hobby y desde hace varios años fabricados y vendidos a la 200 de NEMO que tenía un grado de profu
Palo de Detector de metales de neodimio

Palo de Detector de metales de neodimio

Generalmente tomo aparte electrónica en mi escritorio (uno de mis pasatiempos favoritos). Cuando lo hago, caída de tornillos en el piso que es terriblemente molesto.Así que, como inventor, no voy a bajar mi silla y recogerlos.Las piezas que utilicé s
Guante Detector de metal

Guante Detector de metal

Gracias por ver.Ir a ZebraComet.com para más Videos!