Chef interior INTEL(CII) - el futuro de la automatización casera (INTEL IoT) (2 / 3 paso)

Paso 2: Alas de alambre

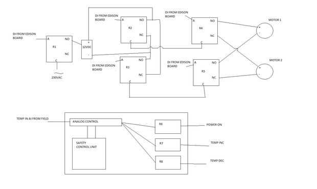
  1. Preparar un diseño de cableado entre

    • Placa de relé y montaje del Motor.
    • Placa de relé y Panel de Control de la inducción.
    • Placa de relé y de la entrada-salida de Edison de IOT de Intel
    • Sensor y Intel IOT Edison entrada-salida
    • Regulador de inducción, placa de relé y de la entrada-salida de Edison de IOT de Intel
  2. Efectuar conexiones individuales para cada componente, no deja perder contactos.
  3. Comprobar funcionamiento de relés individuales y su potencial de contacto.
  4. Evitar cualquier posibilidad de mezclar las polaridades de SMPS.
  5. Tenga cuidado mientras interconexión con panel de Control de inducción estufa, interconexión incorrecta puede conducir a resultados indeseables.
  6. Asegúrese de que el Motor apropiado es uso y es bastante durable para el largo plazo.
  7. Crear un pin para el relé y el relé a diagrama de asignación de componentes para el trazado de circuito perfecto.
  8. Antes de comenzar a código, asegurar el cableado se realiza según el diseño., realizar una unidad individual de prueba de unidades del componente.

Artículos Relacionados

Cuidado de los ancianos Monitor (Intel IoT)

Cuidado de los ancianos Monitor (Intel IoT)

ResumenEsto es un Instructable para un monitoreo y alertas dispositivo para alguien como una persona anciana que en sus momentos durante el día o la noche y que pueden estar en riesgo de caerse o requerir ayuda durante ese tiempo. El concepto del dis
Intel IoT EDI - control de un ambiente cómodo y seguro (con Edison de Intel)

Intel IoT EDI - control de un ambiente cómodo y seguro (con Edison de Intel)

Antes para comenzar, me gustaría agradecer a Intel y a Instructables para esa oportunidad: he sido seleccionado entre otros ganador de un maravilloso Intel IoT Edison & Grove Kit... Que fue muy sorprendente para mí, y estoy muy agradecido por ello. ¡
Diseñar una expansión PCB (Intel® IoT)

Diseñar una expansión PCB (Intel® IoT)

Este Instructable ha sido escrito como punto de partida para aquellos que están dispuestos a utilizar al Intel® Edison a su máximo potencial, al incorporar en un proyecto integrado completamente desarrollado. Para hacer esto, usted probablemente tend
Monitor móvil de vacuna (Intel IoT)

Monitor móvil de vacuna (Intel IoT)

Resumen del proyecto:Esto es a menudo aplicables a bajo (N.Africa) desarrollados y en vías de desarrollo las Naciones Unidas (como India) donde el entorno de almacenamiento de las vacunas (temperatura) de seguimiento es un gran problema. Cuando el am
Intel IoT Analytics Dashboard

Intel IoT Analytics Dashboard

Este Instructable proporciona información sobre cómo cómo configurar una cuenta de Intel Analytics Dashboard, conectar un dispositivo a la nube, el control de un dispositivo a través de la nube y ejecutar programas de Arduino que se comunican con la
Intel IoT preludio #1, domar que Tiger

Intel IoT preludio #1, domar que Tiger

A nadie le gusta a un bebé del grito, así que aquí está cómo había amortiguado el pequeño bugger - podría funcionar para usted también.Paso 1: Por qué Oh por quéEsto está destinado a ayudarle a mantener su cordura, en caso de que tienes los motores F
Somabot - un camarero automatizado (Intel IOT)

Somabot - un camarero automatizado (Intel IOT)

Somabot es un barman automatizado. Simplemente seleccione los ingredientes y las bebidas se pueden acceder desde cualquier navegador móvil o escritorio listo para hacer cócteles. He adjuntado un chip NFC en la parte superior izquierda, por lo que la
RIO Fitness Tracker (Intel IoT)

RIO Fitness Tracker (Intel IoT)

RESUMEN:En el CES 2014 la compañía reveló a Intel Edison; una estampilla de bajo costo tamaño procesador diseñado para dispositivos portátiles. Su esperanza es que empresas utilizan la plataforma para sus propios dispositivos y ayudar a Intel a crear
BANDA de la salud (Intel IoT)

BANDA de la salud (Intel IoT)

La banda de la salud es un dispositivo interactivo y un factor útil para la Internet de las cosas. Está diseñado para tres propósitos:· dar pulso diario medidas de frecuencia en una aplicación android· salvar a una persona de asfixia debido al consum
Alarma de ruido de Edison de Intel (Intel IoT)

Alarma de ruido de Edison de Intel (Intel IoT)

IntroducciónTengo una alarma antirrobo y alarma de incendio, pero no hay manera de saber si cualquiera está sonando a menos que estoy en la casa. En lugar de sustituirlas por alternativas 'inteligentes', planeo construir un dispositivo para escuchar
BeatBox: choque seguimiento de los paquetes con Edison de Intel - Intel IOT

BeatBox: choque seguimiento de los paquetes con Edison de Intel - Intel IOT

Hola todo el mundoapenas volvimos casa después de participar en el IoT Roadshow de Intel (y hackathon) en Londres.Fue increíble y lleno de ideas y tira creativa. Una muy buena experiencia. Usted debe tratar.Llegamos como un equipo ya formado y con un
TrekMate (Intel IoT)

TrekMate (Intel IoT)

Nuestro proyecto "Trekmate" se centra en la seguridad automática de vehículos y también monitores de fitness de un individuo. Nuestro proyecto consta de varios sensores como el sensor de latidos del corazón, acelerómetro que continuamente monito
Telepresencia de realidad virtual con Edison de Intel (Intel IoT)

Telepresencia de realidad virtual con Edison de Intel (Intel IoT)

este es un proyecto que trabajamos en Intel IoT Roadshow 2016.El Edison de Intel compute chip es una tarjeta bastante potente con construido en capacidades de Wi-Fi y bluetooth. Esto la hace perfecta para algunas aplicaciones de IoT ligeramente más i
Usable mujeres guardia (Intel IOT)

Usable mujeres guardia (Intel IOT)

Intimidación de las mujeres y secuestro están surgiendo como un mayores amenazas en nuestra sociedad moderna. Casos que se presentaron están aumentando poco a poco que hace que las mujeres se sienten inseguros. Estadística reciente dice que un tercio