Paso 1: Desarmar cosas


Como se muestra en los dibujos de línea, retirar la guía y apoyo de pieza.
Retire el protector de la hoja y el protector de disco soporte de pieza.
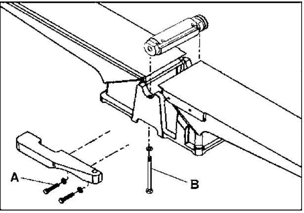
Bajar las tablas de entrada y salidas para el cabezal de corte se puede quitar levantando hacia arriba. Hay dos tornillos que sujetan los soportes en su lugar ("B" en imagen-2). Un perno es fácil, que el otro tiene sobre 1/2 espacio entre la cabeza y el stand de la ensambladora. Una llave no se ajusta, sino que una llave de la caja. Solo tarda un poco más para quitar--Oh, y nunca haber tocado durante 16 años, necesitaba un poco "la persuasión".
Retire la polea y los dos bloques. Esta es la parte que pensé que sería realmente difícil. Pero una manzana se cayó solo. el otro tomé a la autoshop al lado con su tirador del engranaje. Todo llevó fue un pequeño "tirón" para llevarlo a cabo el cojinete.
Colocar los bloques en los rodamientos del cabezal de corte nueva. (Resbaló en sin problema).