Paso 3: El circuito


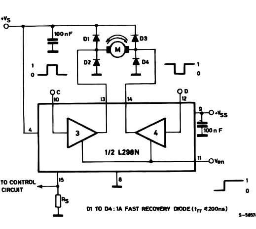
-Puesto que nuestros L298N realmente tiene más componentes que necesitamos, nos no va a utilizar todos los pines del chip.
-Pin 4 recibe la tensión de alimentación para nuestro motor: puede marcar esto abajo de los 12 voltios recomendados (mi motor gira bastante maldito rápido a 12V) para que tenga un poco de control preciso sobre las persianas.
-Entre el pin 15 y tierra, la ficha técnica recomienda pones una resistencia de"sentido" para limitar la corriente a través del motor. En mi caso, sin embargo, no limitación actual era un problema, así que eres fino directamente cableado pin 15 a tierra.
-Pin 8 está conectado directamente a tierra.
-Pin 9 está conectado a Vss, la tensión de alimentación para la lógica del componente. Dar este 5V pin (puede hacerlo con su Arduino). El condensador es innecesario para nuestros propósitos.
-Los pins 13 y 14 son salidas del puente; estos pernos ir, con la ayuda de los diodos, a los insumos de nuestro motor.
La lógica de este circuito merece especial atención. Pines 10, 11 y 12 dictan lo que sucede con el motor. Esa información está contenida en la tabla en esta página. Altas y bajas se refieren a salidas TTL. Te enviaremos 5V desde nuestro Arduino a decir alto y 0V desde nuestro Arduino a media baja. Por lo tanto deben conectarse todos los motivos en el circuito.