Paso 9: Caricias detección

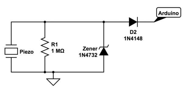
Para la detección de caricias, utilizamos un circuito de sensor eléctrico piezoeléctrico simple. Un elemento piezoeléctrico produce una tensión cuando se aplica presión a ella. Este voltaje entonces se regula con un Diodo zener que evita que el voltaje supere un cierto valor (3.3 V en nuestro caso). Este voltaje es enviado entonces a la clavija de entrada analógica en el Arduino a través de un diodo rectificador. El diodo rectificador evita que voltajes negativos va a Arduino. Este es un circuito de detección bastante crudo y tendrá que ser mejorado, pero es funcional.