Arduino UNO un CO-pilot(Auto-pilot) (3 / 6 paso)

Paso 3: Diagrama del circuito

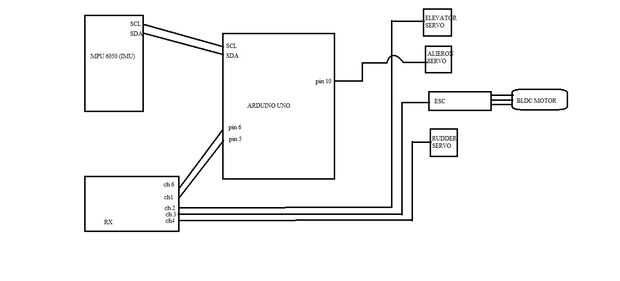
En este esquema la salida ch 6 se da a la arduino uno para procesar el tiempo toman las órdenes del piloto o ejecutar en modo de piloto automático así que ch 6 interruptor piloto automático.

Artículos Relacionados

ARDUINO UNO

ARDUINO UNO

¡ Hermoso que usted decidió tomar un interés en la afición mejor que usted sabrá nunca! Nunca te deje de una vez que comience con Arduino. Nunca he visto a nadie fallan en este hobby si ponen algún esfuerzo e imaginación.Un tablero, infinitas posibil
Shapeoko 2, Arduino UNO R3, grbl 9g, de 8 bits del grabado del Laser diodo foto

Shapeoko 2, Arduino UNO R3, grbl 9g, de 8 bits del grabado del Laser diodo foto

Yo y mi hijo inventado y desarrollan un nuevo concepto de "On-The Fly" 8 bits fotos de grabado de láser diodo hace más de dos años. Con este concepto, el diodo nunca se apaga a través de la foto todo proceso de grabado. Sólo varía la potencia ha
BRICOLAJE teléfono Bluetooth controlado BB-8 droide con Arduino UNO

BRICOLAJE teléfono Bluetooth controlado BB-8 droide con Arduino UNO

Soy un gran fan de Star Wars y cuando vi Star Wars: la fuerza despierta pensé que necesito un droide de BB-8. Era impresionante cómo esta esfera poco movido en la película. Así que he decidido que voy a hacer este droide que se basa en el Arduino UNO
Controlado por Arduino uno apuntado Centinela Monte

Controlado por Arduino uno apuntado Centinela Monte

En este proyecto construimos un montaje segmentación automático fácil, bajo costo, baja complejidad, alta funcionalidad para cualquier propósito que usted requiere. Cuando viene alguien o algo cerca del dispositivo, por arte de magia (no realmente) g
Cómo hacer la placa Arduino Uno más fácil... SIEMPRE! -El Breduino! (Y cómo subir bocetos directamente a él!) With Additional Hardware Options - UPDATED - JULY 2013

Cómo hacer la placa Arduino Uno más fácil... SIEMPRE! -El Breduino! (Y cómo subir bocetos directamente a él!) With Additional Hardware Options - UPDATED - JULY 2013

Paso 1: Sección 1 - construcción de la fuente de alimentación regulada de 5 voltios. Okay now before i start, something about my notes for my step-by-step PICTURE instructables that i Love to create:"solía etiquetar todas mis fotos en mi instructable
Subir bocetos a Arduino Mini Pro uso de Arduino UNO (sin quitar el Atmel Chip)

Subir bocetos a Arduino Mini Pro uso de Arduino UNO (sin quitar el Atmel Chip)

Esto describe un procedimiento para hacer uso de USB incorporado de Arduino UNO a Serial(TTL) subir bocetos a tablero de Arduino Mini Pro sin necesidad de quitar la viruta de regulador micro Atmel de UNO. Esto es útil para aquellos empezando con plac
BRICOLAJE - cómo utilizar la Arduino Uno para enviar un correo electrónico, SMS y hacer una voz llamar

BRICOLAJE - cómo utilizar la Arduino Uno para enviar un correo electrónico, SMS y hacer una voz llamar

¿Se pregunta cómo enviar correos electrónicos a través de tu Arduino Uno? No te preocupes... Este vídeo tutorial ilumine sobre el proceso paso a paso para enviar correos electrónicos, mensajes SMS, así como hacer voz llamar usando el 3G/GPRS shield l
Arduino Uno - Sensor de llama

Arduino Uno - Sensor de llama

En este Instructable, muestro cómo alambré, programado y ve un Sensor de llama OSEPP con mi Arudino Uno.Este pequeño dispositivo se va a venir práctico con mis metas para el futuro en la automatización, así como algunos limpio alrededor de la casa de
Medidor de distancia ultrasónico con pantalla LCD en el Arduino UNO

Medidor de distancia ultrasónico con pantalla LCD en el Arduino UNO

En este tutorial vamos a ver un uso distinto del módulo de ultrasonidos HC-SR04. Este módulo es de uso frecuente en coches de juguetes y robots para localizar obstáculos pero puede ser utilizado para medir distancias así.Distancias medidas por la HC-
Arduino Uno - infrarrojo pasivo (PIR)

Arduino Uno - infrarrojo pasivo (PIR)

Hola a todos...He estado tratando de hacer más tiempo permite.En este Instructable, vamos para conectar un sensor de infrarrojos pasivo (PIR) a nuestro Arduino Uno con la esperanza de que una manera de detectar el movimiento para un futuro proyecto h
Conectar tu Arduino Uno y frambuesa Pi!

Conectar tu Arduino Uno y frambuesa Pi!

El Raspberry Pi y el Arduino Uno son dispositivos muy potentes, buena en diferentes cosas. Las placas Arduino son impresionantes en la lectura de las entradas y salidas de varias cosas diferentes. El Raspberry Pi es básicamente un mini, el equipo de
Sistema Ambilight para cada entrada conectado a su televisor. WS2812B Arduino UNO frambuesa Pi

Sistema Ambilight para cada entrada conectado a su televisor. WS2812B Arduino UNO frambuesa Pi

Siempre he querido agregar ambilight a mi TV. Se ve tan genial! Finalmente lo hice y no me decepcionó!He visto muchos videos y muchos tutoriales sobre la creación de un sistema Ambilight para tu TV pero nunca he encontrado un tutorial completo para m
Arduino Uno DHT11 LCD estación meteorológica DIY

Arduino Uno DHT11 LCD estación meteorológica DIY

esto es DYI sobre cómo hacer su estación meteorológica usando Arduino Uno, sensor de temperatura y humedad DHT11, DFRobot LCD 2 x 16 pantalla con teclado. Generalmente puedes comprar Arduino, DHT11 y LCD por separado y desde cada capítulo de disposit
Sistema Ambilight extrema [ws2801 + arduino uno]

Sistema Ambilight extrema [ws2801 + arduino uno]

los colores en realidad son 99% verdadero, los blancos en este video fueron más púrpuras desde la grabación de la im utilizando mi iphone :Dasí es chicos, el clon final ambilight puede hacer.Qué estamos tratando de lograr está analizando los bordes d