Paso 2: Diseño, materiales de






Al principio probé un diseño escalonado (como opciones #2 y #3 en el último paso), cortar una maqueta de tablero de núcleo de espuma. Y parece funcionar bien para los dos primeros "pasos," que sostiene la ventana abierta cerca de cinco pulgadas. Pero a pasos más precaria: el ángulo de la hélice aumenta incómodo en lo más alto. Supongo que mi geometría estaba apagado y que debo tener sólo mantuvo afinando el diseño, pero en cambio abandoné tried-and-true y veered apagado en tierra doodle sobre-diseñado.
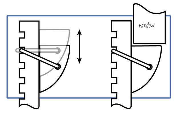
Tenemos un bebé de madera de la puerta que se utiliza para mantener a nuestros niños en pero actualmente mantiene nuestros patos fuera (que siempre trata de comadreja en la casa para robar comida para gatos). Se queda con un pequeño bar que hace pivotar y algunas muescas y apalancamiento y tal, y creo que está muy bien. Así que esta barra de apoyo también permanece en su lugar mediante una pequeña barra que hace pivotar y algunas muescas y aproveche y tal.
Materiales:
- Un palo cuadrado 1 "x 1" funciona. Paleta madera es fina: hack solo un trozo de 1" de ancho.
- Madera plana, sobre el mismo grosor que el palo, para el bloque cuarto redondo. Utilicé algunos roble de chatarra, pero podría cortar esta parte de la madera de paleta, también.
- Alambre grueso; He utilizado un trozo de una percha de alambre.
- Cadena fina cuerda, guita, pequeña cadena... algo que se puede utilizar para amarrar para que no caiga por la ventana.
Herramientas:
- Rompecabezas, para jigsawing
- Pinzas, para la circulación
- Cortadores de alambre, alambre de corte de
- Taladro para perforación
- Poco, un poco más grueso que el alambre, para taladrar un agujero ligeramente más grueso que el cable del taladro.
Saqué algunas fotos en Adobe Illustrator y podido planear todo muy bien antes encendió las herramientas de poder (un PDF de garabatos que se une al último paso de este ' ible). Las dimensiones relativas son más importantes que las dimensiones reales, pero en aras de la integridad te estará ofreciendo algunas mediciones.













