Paso 1:




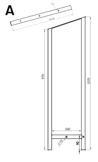
A - cortar y soldar dos bastidores laterales con perfil de acero de 30 * 20mm. 20 * 4mm de acero se utiliza para los asientos de los trenes.
B - corte y soldadura de Perfil de acero de 20 * 20 m m para el paso y 30 * 20 para las piernas interiores como se muestra en la imagen.
C - soldar todas las piezas juntas, manteniendo el nivel de paso. utilizar las piernas de 4mm de acero a soldar la parte de atrás las piernas interior
D - Añadir 20 * 20 mm Cruz de refuerzos en el frente, como se muestra.