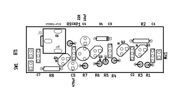
Paso 2: Ven el esquema y PCB





Este pequeño amplificador opera con 4 transistores, los primeros 2 amplifica el micrófono, la tercera actúa como control automático de ganancia que permite un nivel constante, automáticamente se debilitan fuerte sonido automáticamente se debilitan y sonidos bajos se amplifican un potenciómetro de control de volumen para la determinación del sonido antes de la amplificación a través del transistor cuarto.
para escuchar le puede utilizar auriculares o Walkman o lo que sea, solo requiere que cada oyente tienen una impedancia de 32 ohmios, de hecho montaje requiere impedancia 64 Ohms para su funcionamiento, pero como la tierra no está conectado PCB, esto significa conectados dos auriculares conectan en serie e 64 Ohms.
No lo he probado en un prototipo de placa de baquelita pero probé en un protoboard de solderless prototipo antes de la Asamblea y hubo retroalimentación (posiblemente debido a las conexiones demasiado largo)
Así que te aconsejo el PCB para un buen entendedor elija un micrófono de electret de buena calidad (ancho de banda de 20 a 16.000 Hz, por ejemplo) la conexión del micrófono debe ser tan corto como sea posible y de buena directividad y aislar ruidos rodeada el micrófono en un poco de espuma fino y han puesto en un trozo de bolígrafo 1 cm de longitud.