


Dimensiones que no se dan aquí como tienes que medir tu propia máquina para caber. Asegúrese de hacer el labio en la parte delantera un poco más grande que hice para mantener el portátil firmemente en su lugar. El borde superior de cada pieza se cubre con un trozo de goma de un modelo, utilicé Araldite parte 2-adhesivo de contacto para fijar esto, no ha funcionado bien.
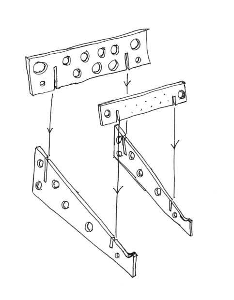
Los agujeros se perforan para ligereza y flujo de aire, que podría ser inteligente con esto en todo tipo de formas pero quería terminar rápidamente.
Hacer consejos: corte los orificios con un cortador del agujero (si tiene uno) no una broca de barrena como esto astilla la capa. No corte los agujeros demasiado grandes o demasiado cerca de los bordes como esto creará puntos débiles.
es realmente.