Paso 1: al principio de todo proyecto.



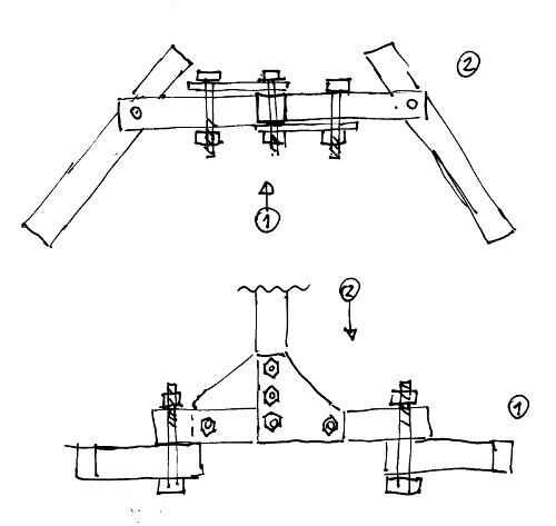
Los soportes de peso original están hechos de tubos/perfiles acero cuadrado 40mm de diámetro.
Lo que utilicé:
Soportes de peso
algunos viejos buje delantero con pincho (árbol realmente solamente con conos y tuercas y pincho)
pieza de plástico espesor 5mm
Algunos tornillos, arandelas y tuercas de 10/8/6
taladro eléctrico
10/8/6 mm Brocas de taladro