Paso 6: Configurar el controlador


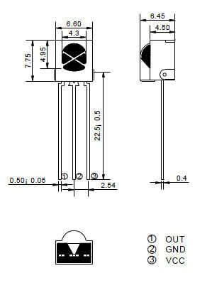
Ahora configurar el controlador de IR para que pueda controlar el robot. El receptor de infrarrojos permite leer la tecla que usted presiona en su controlador arduino. Una vez que se pulsa un botón, el receptor Lea la información y enviarla a arduino que es el codigo que le pide que haga cuando se pulse el botón dijo. Es importante establecer el receptor de la manera correcta o de lo contrario, se fríe y no funciona. Mirando la anterior hoja de datos del receptor, las conexiones de pin son los siguientes:
- El eje izquierdo debe conectarse a la señal de arduino. Para nuestro bot está conectada al pin 3.
- El pin central se conecta a la tierra.
- El eje derecho se conecta la tensión Vcc por lo que puede ser accionado.
Utilice los cables que viene con el controlador para conectar el receptor a la arduino y protoboard. Siga el diagrama de arriba para configurar el controlador de IR con los servos. Asegúrese de que el controlador esté apuntando al sensor. No va a funcionar si no es así.