Paso 5: soldadura



La razón que me gusta usar TIG es porque produce una pequeña soldadura aseada.
No hace falta mucho pulir para conseguir un bonito bisel en el borde.
Usted puede utilizar fácilmente el proceso MIG (Metal Inerte Gas) pero probablemente terminarás haciendo mucho trabajo acabado para conseguir el borde biselado agradable.
Soldar pequeñas carreras de soldadura alternando las posiciones a lo largo del borde y también entre partes.
Esto evita que el calor a un mínimo en cualquier un punto que se detiene la distorsión del metal de hoja.
Es probablemente menos de un problema con acero suave, aluminio y acero inoxidable son mucho peor para la distorsión.
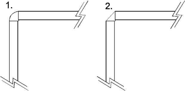
Refiriendo a los detalles de soldadura nuevo 1. Que desea y la soldadura entre los dos bordes exteriores del acero.
Si puedes seguir este completamente cuando aprieta el bisel será perfecto a todo lo largo.