Paso 3: Preparación de las foto-puertas


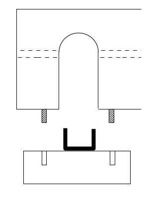
Cada puerta está hecha con un trozo de madera en una sección de forma de U. Usé 2" longitudes de 3" por 1". (50mm de altura, 70mm de espesor y 20mm de espesor). La ranura debe ser más ancha que el diámetro de la canica y lo suficientemente alto como para el mármol sentado en la parte superior el seguimiento. Perforado un conjunto de diámetro 20mm centro de 25mm de la base y luego cortar para hacer una forma de u.
A continuación perfore un agujero horizontal todas las atraviesa en aproximadamente a la altura del centro del mármol y lo suficientemente amplia como para un led y fotorresistencia en. Mina de 22mm por encima de los orificios de 5mm o 6mm y base.
Entonces queremos fijar pasadores en la parte inferior de la puerta. Utilicé algunos remaches con vaina de diámetro de 3mm pero puede secciones de una barra de robar. Estos deben ser lo suficientemente largos para caber firmemente en los agujeros en la pista pero no demasiado apretada que es difícil conectar y salir de la pista.
Cuando terminan la pista y puertas, probar para comprobar encajan muy bien y una canica se ejecutará por la pista sin obstrucción.