Puerta de jardín en una tarde con cero los sujetadores del Metal (4 / 12 paso)

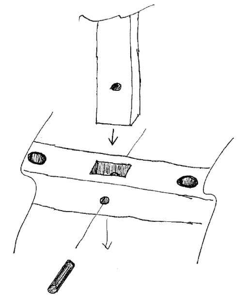
Paso 3: Agujerean los agujeros para las clavijas de madera dura

Ahora es el momento para agujerear los agujeros para los pernos de madera que se sujetan el marco. Utilice el taladro con el 0,50" forstner bit. Te recomiendo clavijas en puntos de cuarto o tercer-puntos de la anchura de la espiga.

Artículos Relacionados

Cómo conectar una escala o balanza electrónica con una PC y leer los valores del peso directamente en Excel

Cómo conectar una escala o balanza electrónica con una PC y leer los valores del peso directamente en Excel

mayoría de balanzas electrónicas y Balanzas de laboratorio tienen un RS232 (Serial) o USB de puerto sin embargo ningunas instrucciones normalmente se proporcionan para mostrarle cómo conectarse correctamente a su PC o ingresar valores de peso directa
Cocodrilo conduce con Integral los sostenedores del fusible para las conexiones seguras a las baterías de plomo

Cocodrilo conduce con Integral los sostenedores del fusible para las conexiones seguras a las baterías de plomo

no me gusta el fuego.  Me disgusta especialmente incendios en mi tienda y mi saco de dormir. Este instructable detalla los pasos utiliza para crear un par de cocodrilo conduce con portafusibles integral para que lo conectes con el caimán lleva está p
Cómo hacer un pan de jengibre de Tardis (con médico)

Cómo hacer un pan de jengibre de Tardis (con médico)

viajes en el tiempo y dimensión relativa en el espacio deliciosamente!Este es un proyecto que no requiere mucha experiencia para hornear.  Por ejemplo, es más fácil que una torta de la Tardis, y mantiene más tiempo.  Se requiere una buena parte del e
Construir una gran auto riego jardín y el invernadero con materiales reutilizados

Construir una gran auto riego jardín y el invernadero con materiales reutilizados

Este instructable muestra cómo construí un versátil y de bajo mantenimiento por encima del jardín de la tierra y efecto invernadero. Este plantador del jardín es autorriego, humedad regulación auto relleno, autoprotección y portátil (con ayuda o equi
Una simple puerta de jardín

Una simple puerta de jardín

Una forma fácil de construir puerta de jardín o PotreroHerramientas y materialesMadera (yo usé aprox 8 m de terrazas de 100 x 40)clavos de 50mm (aproximadamente 60)bisagrascierrePernos de coche (5)Costo total de $55NZDTronzadoraTaladroMartillollavePa
1 calabaza de jardín y una encantadora cena con él!

1 calabaza de jardín y una encantadora cena con él!

Hace unos días tuvimos nuestra 1ª calabaza de nuestro jardín... ¡ sí! Y es esta hermosa, A japonés calabaza llamada, se puede leer! Un vistazo a éste precioso:Paso 1: Reunir los ingredientes!Para que el horno especiado había asado vegetales:420 gr pe
Cómo construir una fortaleza con 3d impreso fuerte lazos

Cómo construir una fortaleza con 3d impreso fuerte lazos

simplemente preguntar, y no hay muchas personas que no disfrutan de construir fortalezas durante su infancia. Tengo un sobrino de 6 años que pide casi cada vez que lo veo, "podemos construir una fortaleza?" Vergonzosamente admito que he descuida
Hacer un traje de la galardonada en una noche con cinta de embalaje, periódico

Hacer un traje de la galardonada en una noche con cinta de embalaje, periódico

O los poderes de la cinta del embalaje. Hacen de este elegante árbol, o cualquier otro esculpido traje, en ningún momento con poca inversión. Los resultados son ligeros y fáciles de usar, siendo única y ganadora del Premio!Materiales básicos (para el
De una luz tenue de jardín a una luz de destello brillante. (solar)

De una luz tenue de jardín a una luz de destello brillante. (solar)

estuve en la tienda de dólar el otro día y vi esta pequeña Roca jardín, una vez que miré más de cerca noté era más que una roca. Era una luz solar del jardín. Costó sólo un dólar y por curiosidad tuve que comprarlo. Era navegar por la web el otro día
Biblioteca de Tardis con sonido y luces

Biblioteca de Tardis con sonido y luces

Este es un instructivo de cómo hacer una escala de 3/4, 1/2 profundidad biblioteca de Tardis. Se modela después de los 10 médicos Tardis de la América británica BBC y BBC "Doctor Who". Fue una graduación para mi hermana y tomó mis padres y yo ce
Una vida con propósito de volver a

Una vida con propósito de volver a

hacer la tres r de: reducir, reutilizar, reciclar pero añadir a propósito para un 4 º R.Simplemente no puedo ayudar yo. Todo comenzó con mi abuelo. Mantener todo tipo de cosas y rehecho-reutilizarlos en su granja. (Entonces se llama recogida de basur
Sobrevivir a una cita con un Zombie / Apocalipsis

Sobrevivir a una cita con un Zombie / Apocalipsis

En teoría, personas que cumplen en las fechas de San Valentín podrían ser zombies, y por lo tanto es posible que usted podría conseguir mordido e infectados antes de que comience el Apocalipsis zombie todo. Con esto en mente, voy a dar algunos consej
3D impreso TARDIS con Arduino

3D impreso TARDIS con Arduino

Este instructable fue creado en cumplimiento de la exigencia de proyecto de la Makecourse de la Universidad de South Florida (www.makecourse.com).Este proyecto tenía la clase, sin previa experiencia, usar una impresora 3D, escribir código Arduino y a
Sellan de putrefacción y puerta de garaje a prueba de roedores con el PVC y burlete

Sellan de putrefacción y puerta de garaje a prueba de roedores con el PVC y burlete

Cómo sellar una puerta de garaje para evitar roedores.Mantener el tiempo y los roedores fuera de un garaje puede ser complicado. Con todos los productos de PVC pueden mantener a estos chicos hacia fuera.Paso 1: El problema... putrefacción y roedores