


Cosas que necesitará:
-dremel
-botella de la medicina
-bic pen
-goma
-thin wire
-grano pequeño
-cadena
-caliente el pegamento
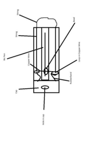
Este instructable es como construir una pistola de dardos de un medicamento de botella y yo tendremos el video de youtube para mostrar cómo funciona y dibujará un diagrama para mostrar los lugares que va todo. Cuando esté todo terminado ser seguro y divertirse!