








Lo mismo ocurre cuando la línea se utiliza para conectarse a la internet es el mismo que se utilizará para hacer una llamada.
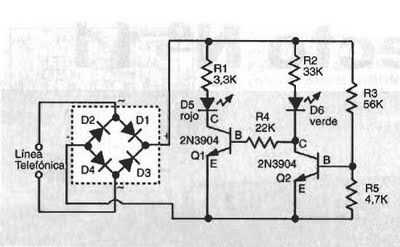
Para evitar estos problemas al instalar un dispositivo para indicar cuando la línea telefónica está siendo extencion remediación utilizada por otras diferentes a las nuestras, ya sea por un módem convencional de aparatos, un fax o computadora.
Antes de comenzar el desarrollo del proyecto debe aclarar que este dispositivo trabaja sobre líneas telefónicas directas, es decir reciben energía de la central telefónica.
¡¡¡Buena suerte!!!