Paso 2: Construcción de cableado del circuito



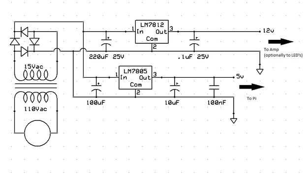
El circuito de regulación es bastante sencillo y auto explicativo, solo ver la polaridad de las tapas!
La soldadura de los cables de los altavoces de 8 ohmios juntos (a menos que quieras estéreo, que no sentía que era necesario para este proyecto y requeriría más piezas/pasos) y luego directamente en el amplificador de Velleman como se muestra en el diagrama. La soldadura de la gnd(black) de micro usb a la gnd de la fuente de 5V y el VCC(red) a la fuente de 5V +. Empalme cable de Aux y tie los dos canales juntos y soldadura el potenciómetro (ver diagrama) de la soldadura conduce entre amp y el potenciómetro como se ve en el diagrama. Finalmente, fije energía al amplificador como se ve en el diagrama.
Mi monitor vino con los cables de corriente previamente empalmados y estañado, aunque si el tuyo no lo hace, asegúrese de que su polaridad es correcta (rojo +, negro-). Monitor a la fuente de 12v de la soldadura.
Conectar amplificador a pi por medio del cable aux. Conecte el monitor a pi a través de RCA. Conectar alimentación a pi mediante micro usb.
Poner todo junto y arranque su pi.