Paso 2: materiales

Requisitos de hardware
v PCB
v microcontrolador
v transformador descender 12V/500mA
v regulador de voltaje LM7805
v diodos rectificadores 1N4001
v condensadores electrolíticos
v pantalla LCD
v LED
v detección de electrodos
v amplificador operacional
v cables de PVC
v relé
v la bomba de agua
PCB
Una placa de circuito impreso (PCB) forros mecánicamente y eléctricamente une segmentos electrónicos utilizando pistas conductoras, cojines y destaca diferentes tallada desde hojas de cobre cubiertas. Progresado PCB puede contener piezas - condensadores, resistencias o gadgets dinámicos - insertadas en el sustrato.
Circuito impreso las hojas se utilizan como parte de todo, excepto los artículos electrónicos más sencillos. Distintas opciones para PCB incorporar alambre abrigo fuera del circuito, sin embargo Junta y conseguir junto pueden ser mecanizados. Montaje de circuitos con PCB es menos costosa y más rápida que con otros sistemas de cableado como segmentos están montados.
En el punto cuando el tablero tiene asociaciones sólo cobre y ninguna pieza insertada, es todo más eficazmente llaman un tablero de circuito impreso (PWB).
Un PCB con componentes electrónicos se conoce como un circuito impreso (PCA) de reunión, placa de circuito impreso obtener juntos o PCB
junto (PCBA). El término CIP favorecido para acumulado se prepara para dejar es tarjeta reunirse (CCA), y para las bases de recogida es placa congregaciones. El término que PCB es casualmente utilizados tanto para las hojas expuestas y acumuladas
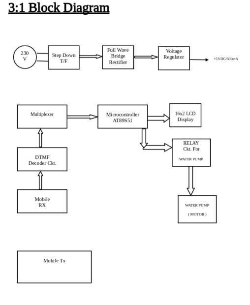
Microcontrolador
Descripción
Los AT89S51 es un microcontrolador CMOS de 8 bits de baja potencia, alto rendimiento con 4K bytes de memoria Flash programable en el sistema. El dispositivo es fabricado usando tecnología de alta densidad no volátil memoria de Atmel y es compatible con el estándar de la industria 80C 51 instrucción y pinout. El Flash de la en-viruta permite la memoria de programa a introducirse en el sistema o por un programador de memoria convencional. Mediante la combinación de una CPU de 8 bits versátil con Flash de en-sistema programable en un chip monolítico, los Atmel AT89S51 es un microcontrolador potente que proporciona una solución altamente flexible y rentable para muchas aplicaciones de control embebido.
Los AT89S51 proporciona las siguientes características estándar: bytes de 4K de Flash, 128 bytes de RAM, 32 líneas i/o, perro guardián temporizador, punteros dos datos, dos 16-bit temporizador/contadores, una arquitectura de cinco-vector interrupción de dos niveles, un puerto serial full dúplex, oscilador on-chip y los circuitos del reloj. Además, los AT89S51 está diseñado con lógica estática para operación hasta cero frecuencia y soporta dos software seleccionable de energía modos de ahorro. El modo inactivo se detiene la CPU permitiendo la RAM, contador de tiempo/contadores, puerto serie y sistema de interrupción seguir funcionando. El energía-abajo modo ahorra las con-tiendas de RAM pero congela el oscilador, desactivar todas las demás funciones chip hasta el siguiente reset interrumpir o hardware externo.
PIN Descripción
Tensión de alimentación VCC.
GND tierra.
Puerto 0 puerto 0 es un puerto de la entrada-salida de drenaje abierto 8 bits bidireccionales. Como un puerto de salida, cada perno puede hundirse ocho entradas TTL. Cuando 1s se escriben para puerto 0 pernos, los pernos pueden utilizarse como entradas de alta impedancia.
Puerto 1 puerto 1 es un puerto de E/S de 8 bits bidireccionales con Pull-UPS internas. Los buffers de salida de 1 puerto pueden del fregadero/de fuente cuatro entradas TTL. Cuando 1s se escriben a los pines del puerto 1, se tiran alto por las dominadas inter-nal y puede ser utilizados como entradas.
P1.5 MOSI (utilizado para la programación en el sistema)
P1.6 MISO (utilizado para la programación en el sistema)
P1.7 SCK (utilizado para la programación en el sistema)
2 puerto 2 es un puerto de E/S de 8 bits bidireccionales con Pull-UPS internas. Los buffers de salida 2 puertos pueden fregadero/de fuente cuatro entradas TTL. Cuando 1s se escriben a los pines del puerto 2, se tiran alto por las dominadas inter-nal y puede ser utilizados como entradas.
3 Puerto 3 es un puerto de E/S de 8 bits bidireccionales con Pull-UPS internas. Los buffers de salida de puerto 3 pueden del fregadero/de fuente cuatro entradas TTL. Cuando 1s se escriben a los pines del puerto 3, se tiran alto por el pull-UPS internas y pueden utilizarse como insumos
P3.0 RXD (entrada puerto serie)
P3.1 TXD (puerto de salida serie)
P3.2 INT0 (interrupción externa 0)
P3.3 INT1 (interrupción externa 1)
P3.4 T0 (entrada externa de timer 0)
P3.5 T1 (entrada externa de timer 1)
P3.6 WR (intermitente de escritura de memoria de datos externos)
P3.7 RD (leer la memoria de datos externa estroboscópico
RST Reset de entrada. Un alto en este pin para dos ciclos de la máquina mientras está funcionando el oscilador restablece el dispositivo. Este pin conduce alta durante períodos de oscilador 98 después de que el perro guardián de tiempo.
ALE/PROG dirección de cierre permiten (ALE) es un pulso de salida para el byte bajo de la dirección de enganche durante los accesos a la memoria externa. Este pin es también la entrada de pulso de programa (PROG) durante la programación Flash.
PSEN programa tienda permiten (PSEN) es el Flash de lectura a la memoria de programa externo. Cuando los AT89S51 está ejecutando código de la memoria de programa externo, PSEN se activa dos veces por cada ciclo de máquina, excepto que se omiten dos activaciones PSEN durante cada acceso a memoria de datos exter-nal.
Habilitar el acceso externo EA/VPP. EA debe ser atado con correa a GND para habilitar el dispositivo para descargar código desde ubicaciones de memoria de programa externo a partir de las 0000 H hasta FFFFH. Nota, sin embargo, que si se programa el bit de bloqueo 1, EA se internamente engatillarse en reset
XTAL1 entrada al inversor amplificador oscilador y entrada al operación de circuito el reloj interno.
XTAL2 salida del amplificador inversor del oscilador
Organización de la memoria
MCS-51 los dispositivos tienen un espacio de direcciones separado para el programa y memoria de datos. Hasta 64 k bytes de programa externo y memoria de datos se pueden abordar.
Memoria del programa si el pin EA es conectado a tierra, los alcances del programa se dirigen a la memoria externa. AT89S51, si EA es conectado a VCC, programa trae a las direcciones 0000H a FFFH se dirigen a la memoria interna y trae a direcciones 1000H a FFFFH se dirigen a la memoria externa.
Datos memoria los AT89S51 implementa 128 bytes de RAM de la en-viruta. Los 128 bytes son accesibles a través de modos de direccionamiento directos e indirectos. Las operaciones de la pila son ejemplos de direccionamiento indirecto, por lo que los 128 bytes de RAM de datos está disponibles como espacio de pila
Watchdog Timer (único habilitado con Reset)
El WDT se concibe como un método de recuperación en situaciones donde la CPU puede estar sujeto a problemas de software. El WDT consiste en un contador de 14 bits y el Watchdog Timer Reset (WDTRST) francos suizos. El WDT está predeterminado para desactivar de salir reset. Para activar el WDT, un usuario debe escribir 01EH y 0E1H en secuencia para el registro WDTRST (SFR ubicación 0A6H). Cuando se activa el WDT, se incrementará cada ciclo de la máquina mientras está funcionando el oscilador. El período de tiempo de espera WDT es dependiente de la frecuencia del reloj externo. No hay ninguna manera de desactivar el WDT excepto a través de reset (restablecimiento de hardware o WDT reset de desbordamiento). Cuando flujos de exceso de WDT, que impulsará un pulso alto de salida RESET en el pin RST.
Usar el WDT
Para activar el WDT, un usuario debe escribir 01EH y 0E1H en secuencia para el registro WDTRST (SFR ubicación 0A6H). Cuando se activa el WDT, el usuario necesita servicio escribiendo a 01EH y 0E1H a WDTRST para evitar un desbordamiento WDT. El contador de 14 bits se desborda cuando alcanza 16383 (3FFFH), y este reinicie el dispositivo. Cuando se activa el WDT, se incrementará cada ciclo de la máquina mientras está funcionando el oscilador.
WDT durante el apagado y ociosa
En modo Power-down el oscilador se detiene, que significa también el WDT se detiene. En el modo de apagado, el usuario no necesitará servicio el WDT. Hay dos métodos para salir del modo de la energía-abajo: por un restablecimiento de hardware o a través de una interrupción externa activada por nivel, que está activado antes de entrar en modo Power-down. Cuando está cerrado apagado con reset de hardware, recibirá el WDT ocurriera como lo hace normalmente cuando los AT89S51 se restablece. Salida de energía-abajo con una interrupción es significativamente diferente. La interrupción se realiza baja lo suficiente para que el oscilador se estabilice. Cuando la interrupción es alto, la interrupción es atendida. Para evitar que el WDT de restablecer el dispositivo mientras el pin de interrupción se mantiene baja, el WDT no se inicia hasta que la interrupción es alta. Se sugiere que el WDT restablecerse durante el servicio de interrupción para la interrupción que se utiliza para salir del modo Power-down.
Transformador (12v 500 mA) (230V a 12V)
Transformador de gran calidad, fuentes de alimentación para una amplia gama de hojas de venture y circuito. Aventurarse a 230 V AC a 12V con un mayor de 500mAmp actual. Y grande conocido como 12-0 - 12
Determinación
v voltaje: 2 x 12V
v corriente: 1 x 500Ma
v fuerza nominal
Regulador de voltaje (LM7805)
Un regulador de voltaje LM7805 es un regulador de voltaje que da + 5 voltios.
Un enfoque simple para recordar el rendimiento de voltaje por un arreglo de LM78XX de reguladores de voltaje es las dos últimas cifras.
Produce 5 voltios. La sección "78" es simplemente la tradición que la utilización de creadores del chip para indicar la disposición de los controladores que voltaje positivo.
Pin 1 (Pin de entrada): Entrada el pin es el pin que reconoce la tensión que se acerca, que el regulador de voltaje a largo plazo se dirigen hasta 5 voltios.
Pin 2 (tierra): Conector de tierra crea el terreno para el controlador.
PIN 3 (salida Pin): Pin de la salida es el controlado 5 voltios CC
Rectificador de diodos (1N4001)
1N4001 es un individuo de 1N400x diodos. Diodo es un gadget de corrección que conduce desde ánodo a cátodo. Diodo actúa abierto el circuito de la actual corriente del cátodo al ánodo. 1N4001 es un diodo de 1A con caída de voltaje delantero baja y capacidad alta oleada. Implica la intersección difusa de PN y tiene corriente de derrame de invertir bajo de 5µA. La tensión de bloqueo de DC es 50V. El cátodo (n) se distingue por una barra en el caso del diodo. El otro terminal es el ánodo (p)
Condensadores electrolíticos
Condensadores electrolíticos (e-tops) son condensadores hechizados cuyo ánodo cátodo (+) están hechos de un metal poco común en la que una capa de óxido protectora comienza por anodización (framing), que anda como el dieléctrico del condensador electrolítico. Un electrolito fuerte o no fuerte que cubre la superficie de la capa de óxido en un nivel básico es la segunda terminal (cátodo) (-) del capacitor. La capacidad expansiva de los condensadores electrolíticos los hace especialmente conveniente para pasar o pasando por alto indicadores de recurrencia baja hasta algunos hertz super y guardando un montón de vitalidad. Se utilizan ampliamente para la disociación o clamor filtereng en fuerza y circuitos de conexión DC para unidades de repetición variable.
Pantalla LCD
LCD es un escaparate visual electrónico, o Mostrar característica que utiliza la luz equilibrio de propiedades de fluidos gemas. Gemas de fluido no descargan luz directamente.
Pantallas LCD es accesible para mostrar fotos discrecionales (como en un espectáculo ampliamente útil de la PC) o alterado fotos que pueden ser demostrados o cubiertos, precolocación por ejemplo, palabras, dígitos y sección 7 muestra como en un reloj computarizado. Utilizar la misma innovación fundamental, con la excepción de que cuadros discrecional están compuestos por una gran cantidad de pequeños píxeles, mientras que muestra diferentes componentes más grandes. LCDs se utilizan como parte de una extensa variedad de usos incluyendo pantallas de PC, televisores, tableros de instrumentos, presentaciones de cabina de avión y señalización. Son básicos en gadgets de comprador, por ejemplo, reproductores de DVD, juegos, gadgets, relojes, relojes, Desmenuzadoras de número y teléfonos y han suplantado cátodo viga tubo (CRT) aparece en muchas aplicaciones. Son accesibles en un ámbito más amplio de tamaños de pantalla que muestra CRT y de plasma, y puesto que no utilizan fósforos, no soportar imagen blaze en. Sin embargo, LCDs son impotentes para ingenio imagen.
LED
Irradiando luz diodos, regularmente llamado LED, son auténticos Santos anónimos en el mundo del hardware. Hacer muchas diversas ocupaciones y se encuentran en una amplia gama de gadgets.
Además de otras cosas, marco números de tickers computarizados, transmiten los controles de datos fromremote, iluminar relojes y avisan cuando están encendidos tus aparatos. Reunidos, se forma imágenes en una gran pantalla de TV o iluminar una luz de actividad.
Fundamentalmente, los LED son simplemente pequeñas luces que se adaptan con eficacia a un circuito eléctrico. Sea como sea, no como glóbulos brillantes comunes, no tienen una fibra que se gastará y no consiguen particularmente calientes. Son iluminados exclusivamente por el desarrollo de los electrones en un material semiconductor, y seguir adelante generalmente la longitud de un transistor estándar. La vida útil de un LED supera la corta existencia de un botón brillante por un gran muchas horas. LEDs de menor importancia son a partir de ahora sustituyendo los tubos que HDTV LCD para hacer televisores drásticamente más esbeltos.
En este artículo, a inspeccionar la innovación detrás de estas señales omnipresentes, iluminando algunos cool estándares de potencia y luz al mismo tiempo
Electrodos de detección
Cátodo particular de una partícula (ISE), una partícula particular terminal (SIE), de otra manera llamado es un transductor (sensor) que analizó cambios sobre el movimiento de una partícula determinada en respuesta a un potencial eléctrico, que puede ser medida por voltímetro o pH metros. La tensión es hipotéticamente dependiente en el logaritmo de la acción iónica, según la comparación de Nernst. La pieza de detección del cátodo se hace normalmente como una capa especial de partículas, junto a una terminal de referencia. Ánodos específicos de partículas se utilizan como parte de los científicos
Ciencia y examinación bioquímica/biofísica,
donde se necesitan estimaciones de fijación iónica en un arreglo fluido, como una regla en una premisa permanente.
Amplificador operacional
Un intensificador operacional "(amp de la operación del) es un altavoz de alto aumento DC-coupled electrónica de la tensión con un diferencial de datos y, normalmente, una salida final solitaria.
En este arreglo, un amplificador de la operación crea un potencial de rendimiento (con respecto a tierra del circuito) que es normalmente un gran número de veces más grande que la diferencia potencial entre sus terminales de información.
Reforzadores del funcionamiento tenían sus causas en PC simple, donde se utilizaron para hacer operaciones científicas en numerosos circuitos de sala directo, no recta y repetición.
Cables de PVC
Aplicaciones:
v abierta y cubierta de cables en estructuras de negocios privado y empresarial.
v casa metro y agua bomba asociaciones.
v camino de luz y movimiento señal de asociaciones.
v cubierta cableado en transportes, línea de ferrocarril de mentores, naves, máquinas voladoras y así sucesivamente.
v ser luz puede ser utilizado en falsos techos.
v notables destacan:
v más templado en comparación con conductores de acero.
v muy protegido no conductor anticipa corta hacia fuera de peligros.
v verificación de la erosión de Benarès y salinidad moho.
Relé de
Es un interruptor eléctrico trabajado. Varios intercambios un electroimán para trabajar mecánicamente un interruptor, sin embargo, otros modelos de trabajo son igualmente utilizar, por ejemplo, intercambios de estado sólido. Intercambios se utilizan donde es vital para un circuito de control por una señal de baja potencia (con retirada eléctrica total en el medio de control y los circuitos controlados), o donde un par de circuitos debe ser controlado por una señal. Las principales transferencias fueron utilizadas como parte de la larga separación circuitos difusión como potenciadores: ellos maquillaron la muestra rodando en un circuito y retransmitido en otro circuito...
BC 548 Transistor
BC548 es un transistor NPN de intersección bipolar ampliamente útil descubierto generalmente en hardware electrónico Europeo y planes actuales de revistas de gadgets australiano y británico donde se requiere un transistor de un esfuerzo mínimo regularmente accesible NPN...
Sensor de humedad
Distingue cerca de líquidos o humedad entre dos alambres y da alto rendimiento dinámico. El cable al descubierto es permeable; por lo tanto permite la transmisión de vapores de agua en el sensor. Estas zonas al descubierto se construyen delicadamente. Por lo tanto, el sensor reacciona rápidamente a los cambios en humedad conectada, tanto mientras se está secando (en la puesta en marcha de la metodología) y llama vigorosamente si hay entrada de humedad en un procedimiento. Estos son para que los tipos de sensores utilizados esencialmente, •Interfacing con microcontrolador para identificar los niveles flúidos. •Moisture reconocimiento de riego programado de las plantas. •Liquid descubrimiento nivel poniendo diferentes pruebas en cada fluido