Folleto de Protector (3 / 18 paso)

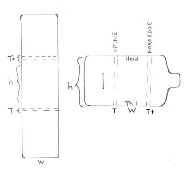
Paso 3: Medir los valores de carpeta

En primer lugar, medir la altura (paralelo a la columna vertebral), ancho (a través de la portada) y espesor de su panfleto o folleto.

  • Mida la longitud vertical de la caja de cuatro solapas (aproximadamente 3 veces la altura del libro, más dos veces el espesor)
  • Esta parte es aproximadamente 3 veces el ancho mas 2 veces el espesor de este folleto.
  • La lengüeta y la ranura no se dibujan a escala; medir y cortar la ficha primero y siempre hacer la ranura ajustar la lengüeta

Artículos Relacionados

Cómo hacer un disfraz de Fallout 4 - sistema de correa de cuero (sin protectores de hombros)

Cómo hacer un disfraz de Fallout 4 - sistema de correa de cuero (sin protectores de hombros)

Estoy haciendo este Instructable para entrar en la competición de cuero de Tandy, votar si te gusta.Se trata de una retrospectiva Instructable sobre el conjunto de cuero que hice para que un amigo a cosplay en PAX AUS para el juego que viene para arr
Protector antirrobo con sensor de inclinación

Protector antirrobo con sensor de inclinación

Estos días el robo se ha convertido en un delito grave. Las personas son ahora mucho más consciente hacia allí objetos preciosos son carteras y joyería pero debido a la ajetreada rutina de esta vida no somos capaces de cuidar de nuestras cosas. Que e
Protector de polvo para lijadora de banda!

Protector de polvo para lijadora de banda!

Bien finalmente decidí levantarme y hacer uno, porque ha estado en mi lista de prioridades, que claramente no es corto, desde hace años. Y estoy tan contenta que hice.Puede ser muy exasperante cuando usted sólo ha barrido el taller entero por lo que
Protector de pantalla de TV

Protector de pantalla de TV

Este tutorial mostrará cómo construir un protector de pantalla barato y eficaz para su TV caro.La historia:Mientras que hablar por teléfono un día mi cuñada compartió la triste noticia que eres nuevos TV de pantalla plana se había roto por un camión
Protectores laterales de piel para gafas de sol

Protectores laterales de piel para gafas de sol

Un par de décadas atrás que montó una moto como mi transporte primario. Para la Navidad un año mi hermana me consiguió un par de gafas de sol Bausch y Lombe similares a los RayBans se muestra en la imagen. Me encantó esas gafas de sol y montó todo el
Cómo hacer un protector de cama para niños pequeños

Cómo hacer un protector de cama para niños pequeños

nuestra situación:Mi hijo toma siestas durante el día con mi esposa, mientras que nuestra sobrina quien ve, duerme en su cuna.   Nuestro problema es que cuando duerme en nuestra cama para su siesta, tiene una tendencia a caer de la cama, a veces incl
Cómo quitar el protector de pick en su mando de Guitar Hero para $1, básicamente gratis!

Cómo quitar el protector de pick en su mando de Guitar Hero para $1, básicamente gratis!

Esto funciona con sólo los controladores originales de la guitarra héroe Gibson SG...Puede retirar el protector de pick y le dan un trabajo de pintura, o lo que sea, pero espero que os guste mi Instructable!Elementos necesarios:Destornilladores.Bajo
Crear protector del punto 6'7

Crear protector del punto 6'7

voy a estar mostrando cómo construir la posición más dinámica en el juego!Paso 1: Construir el Pointguard de 6'7 De su posición necesita poner "puntoPROTECTOR"Su altura deberá poner "6 7"Para tu peso tienes que poner "180 libras&q
Instamorph goma escudo (protector bucal)

Instamorph goma escudo (protector bucal)

Una breve guía para la creación de un protector dental (Rugby / MMA / etc) con Instamorph no tóxico. El protector dental resultante puede ser refinado para ser un apretado snap fit o l un poco más flojo.El protector dental de Instamorph es un escudo
Tutorial dragon edad Inquisición espuma tablero protector

Tutorial dragon edad Inquisición espuma tablero protector

¡ Hola allí! Si eres un poco de un geek de juegos de azar como yo y han gustado había jugado Dragon edad Inquisición (adiós vida social...) entonces usted podría desear que usted podría hacer su propio momento del juego. Bueno, no busque más! Siga es
Crear un protector de espinilla de béisbol vintage prop

Crear un protector de espinilla de béisbol vintage prop

Hiya allaya! Nos pidieron para hacer a un par de prop espinilleras 'vintage' para un documental sobre la historia del béisbol. En el documento que realmente no ver los apoyos que hicimos - lo filtra a través de post vfx texturas granuladas y cosas -
Protector de bolsillo bricolaje

Protector de bolsillo bricolaje

tal vez me he pasado demasiado tiempo en la sede de Instructables, pero me desperté esta mañana con un repentino deseo de hacerme un protector de bolsillo.Al ver lo guay era mi protector de bolsillo, todo el mundo en Instructables pidió que hacer alg
Paracord y 3D impresión Protector clave

Paracord y 3D impresión Protector clave

Haber acabo de comprar mi primer coche, mi único juego de llaves buscaba algo desnudo, aunque las teclas/multi-tools que han presentado el tema del rascado nada en mi bolsillo (teléfono casos, tarjetas bancarias, mi mano... etc). También me gusta con
Protector de TV

Protector de TV

cuando nuestro hijo se convirtió en un botón presionando, niño de giro de la perilla es el momento para proteger a la TV y otros equipos AV con una barrera física.La única opción para comprar parece ser fuego protector tipo cosas que eran todos demas