Paso 1: Crear el láser corte Lightbox


Caja de luz:
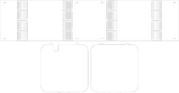
La caja de luz está hecha de madera multiplex de 3 mm con bisagras de la vida. La caja de corte con una máquina CNC de corte láser por el uso de un archivo de illustrator 2D. A través del patrón de las bisagras de la vida la madera puede ser plegado y atado a los lados mate acrílico. Estos permiten la luz pase a través sin ser capaces de mirar en la caja.
El archivo de illustrator puede descargarse a continuación.













