Como: Peces (1 / 6 paso)

Paso 1: Entender su equipo

Artículos Relacionados

Cómo moverse con peces grandes

Cómo moverse con peces grandes

mudanza a un nuevo hogar es especialmente difícil cuando usted es dueño de grandes peces como peces de estanque; como koi. Son grandes, pesados y muy fuertes.  Pero unos sencillos pasos pueden hacer la jugada menos estresante para sus valiosos peces.
Jardín de Vermiponic

Jardín de Vermiponic

si lees esto tu probablemente pensando WTF es un jardín de Vermiponic.  Básicamente es un cruce entre un suelo tradicional jardín y cultivos hidropónicos. Yo no soy un fan de hidroponía como algunos gustos de comida "no derecho". Compra de nutri
Jardinería de guerrilla

Jardinería de guerrilla

Reverdeciendo el planetaEste es un instructable sobre jardinería de Guerrilla. Primero probé en 1984 y han estado en él desde entonces. Tengo árboles que son altos ahora de 40 años. Encontrar lugares en mi barrio o en mi ruta de viaje necesitan algun
Betta Basics con Phoenix y Jack

Betta Basics con Phoenix y Jack

Hey, Fans de Instructables! Yo estoy de nuevo, esta vez con el doble de la diversión! Este tutorial es un homenaje a mis dos hermosos niños de Betta, Jack y Phoenix.Bettas son mi tipo favorito de pescado. Desde los cinco años, por lo menos tuve un Be
La trampa del equilibrio

La trampa del equilibrio

Un día, puedes encontrarte a ti mismo perdido en el bosque mientras camping! Un día, la bolsa se desplome y ¿estás listo para sobrevivir? Trampas y trampas son una de las cosas más importantes mientras que sobrevivir. Blake Alma, el fundador del arte
CD ROM pesca artesanal

CD ROM pesca artesanal

originalmente hice esto como un arte para mis 2 sobrinos y mi sobrina, luego hice otro a utilizar en mi proyecto de grado 5 º en la gran barrera de coral. No sólo es un gran proyecto para los más pequeños o como un buen toque en un proyecto de escuel
Acuario bricolaje

Acuario bricolaje

esto le enseñará cómo hacer un acuario sin cualquier pez vivo.Paso 1-conseguir los materiales.Envoltura de plásticoUn recipiente de pescado limpioPapel impresora (tinta de color no es necesaria) y un ordenador con internetPaso 2-obtener el pescadoGoo
Partido de piedra caliza para encontrar fósiles!!!!

Partido de piedra caliza para encontrar fósiles!!!!

Si eres un geek de la ciencia y la posibilidad de desenterrar sus propios fósiles tiene, en algún momento, probablemente excitado le. La emoción y el entusiasmo de encontrar, ver y tocar algo que no ha sido visto por 50 millones de años es una sensac
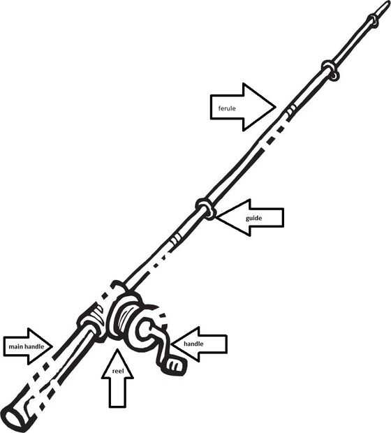
Cómo configurar y utilizar un Spinning caña y carrete

Cómo configurar y utilizar un Spinning caña y carrete

¿Está frustrado con el tedioso proceso de configurar y aprender a utilizar su barra de giro y el carrete? Si es así, no tengas miedo! Han encontrado el Instructable que te mostrará todo lo que necesitas saber sobre tu barra de giro y carrete. Aunque
Cómo capturar, limpiar y cocinar un pescado!

Cómo capturar, limpiar y cocinar un pescado!

Paso 1: Encontrar un agujero de pescaEncontrar un agujero de pesca-me gusta fresco agua pesca y pescados las montañas Uintah de arco iris, usureros y trucha de arroyo.Un agujero de buena pesca es donde se pueden ver peces nadando y saltando. Un flujo
Insonorizar su garaje paredes (usando mi método de Cala)

Insonorizar su garaje paredes (usando mi método de Cala)

en este Instructable, te demuestro cómo insonorizar una pared usando un método que he desarrollado para mi estudio de grabación casero. Es similar al método de canales resilientes , pero tiene ventajas de ser 1. mucho más barato, 2. mucho más robusto
Cómo rellenar un "desechable" Brita marca jarra filtro de agua con carbón activado.

Cómo rellenar un "desechable" Brita marca jarra filtro de agua con carbón activado.

¿Por qué comprar un filtro de repuesto $6 a $10 (o más) cuando puede rellenar su antiguo alojamiento del cartucho de filtro de unos 50 centavos de dólar?Recarga es rápida, fácil y económica. Si usted puede rellenar un salero, luego podrá rellenar una
Cómo hacer Sushi

Cómo hacer Sushi

se puede disfrutar de nigiri sushi en casa con estos consejos simplemente a hacer su propio sushi!  Por supuesto, es algo extraordinario acerca de sushi hecho por un chef profesional de sushi.  Sin embargo, es un método muy sencillo para que cualquie
Tanque de Betta DIY (o cualquier pescado) con lámpara de LED USB

Tanque de Betta DIY (o cualquier pescado) con lámpara de LED USB

mi primer Instructable.Encontré un tarro del caramelo lindo se vende aquí en KSA que parece bueno para un tanque de Betta. USB powered LED característica de la lámpara era originalmente de ( Inteligencia Artificial ).Es USB accionado porque este Inst